Запчасти Hyundai R75-7 PAGE 6142 TRAVEL PILOT VALVE ГИДРАВЛИЧЕСКИЕ КОМПОНЕНТЫ

Схема запчастей Hyundai R75-7 - PAGE 6142 TRAVEL PILOT VALVE ГИДРАВЛИЧЕСКИЕ КОМПОНЕНТЫ
FIT
1:1
100%

Артикул

Название

Примечание

Количество

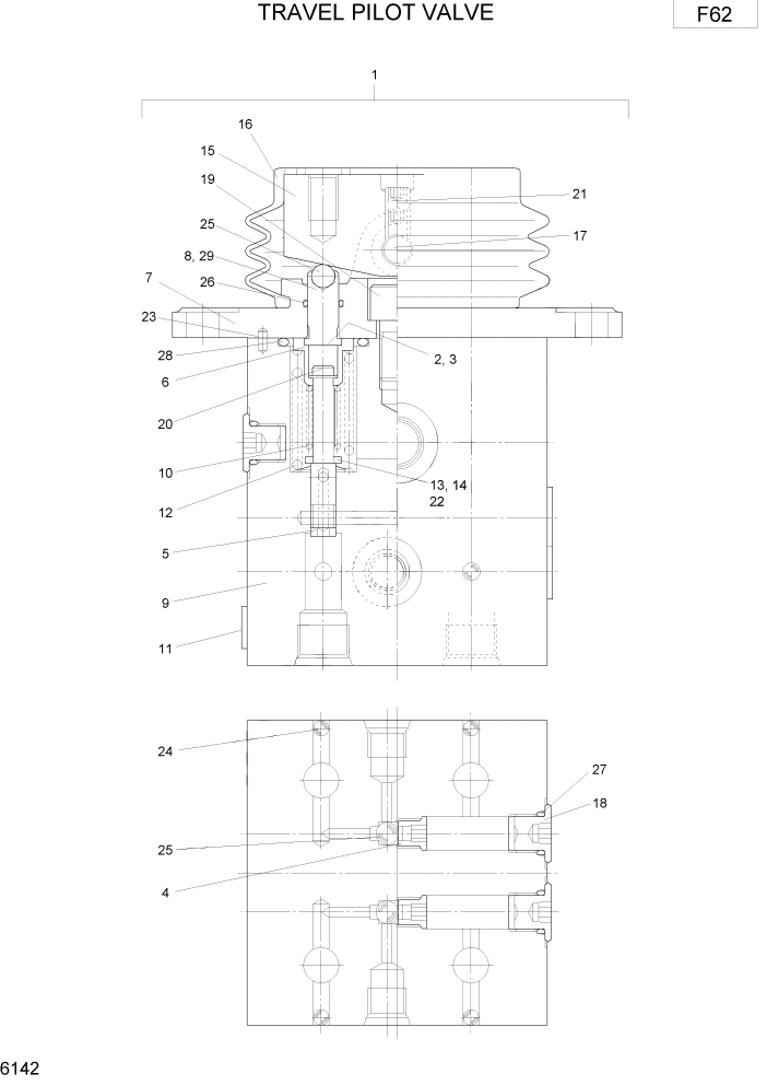
1

XJDH-01753

PILOT VALVE ASSY

INCL 2-29

1шт.

2

XJDH-02396

SHIM

4шт.

3

XJDH-02397

SHIM

4шт.

4

XJDH-02398

SHEET

2шт.

5

@

SPOOL

NOT

4шт.

6

@

SLEEVE

NOT

4шт.

7

@

COVER

NOT

2шт.

8

@

PUSHER

NOT

4шт.

9

@

BODY

NOT

1шт.

10

XJDH-02399

SPRING-COMP

4шт.

11

XJDH-02400

PLATE

1шт.

12

XJDH-02401

SPRING-COMP

4шт.

13

XJDH-02422

SHIM

4шт.

14

XJDH-02402

SHIM

4шт.

15

@

CAM

NOT

2шт.

16

XJDH-02403

BOOT

2шт.

17

@

PIN

NOT

2шт.

18

@

PLUG

NOT

6шт.

19

XJDH-00132

BOLT-SOCKET HEAD

2шт.

20

XJDH-00113

FLANGE-BOLT

4шт.

21

XJDH-00232

SCREW

4шт.

22

XJDH-00247

WASHER

4шт.

23

XJDH-00304

PIN

4шт.

24

@

BALL-STEEL

NOT

4шт.

25

@

BALL-STEEL

NOT

6шт.

26

XJDH-00326

O-RING

4шт.

27

XJDH-00328

O-RING

6шт.

28

XJDH-00336

O-RING

4шт.

29

XJDH-02404

PUSHER ASSY

4шт.

Выбрано товаров: 29