Запчасти Hyundai R80-7 PAGE 6330 UNDER COVER СТРУКТУРА

Схема запчастей Hyundai R80-7 - PAGE 6330 UNDER COVER СТРУКТУРА
FIT
1:1
100%

Артикул

Название

Примечание

Количество

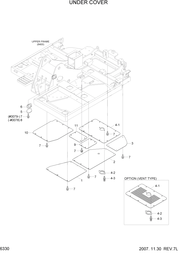
1

41N1-15210

UNDER COVER-CAB(A)

#0047, #0049 #0045

1шт.

1

41N1-15211

UNDER COVER-CAB(A)

#0046

1шт.

2

41N1-15220

UNDER COVER-CAB(B)

1шт.

3

41N1-15230

UNDER COVER-PUMP

1шт.

4

41N1-15241

U/COVER ASSY-ENGINE

GENERAL TYPE

1шт.

4

41N1-15300

U/COVER ASSY-ENGINE

VENT TYPE #0180

1шт.

4-1

41N1-15251

COVER WA-ENGINE

GENERAL TYPE

1шт.

4-1

41N1-15310

COVER WA-ENGINE

VENT TYPE #0180

1шт.

4-2

41M8-10080

COVER-OIL DRAIN

GENERAL TYPE

1шт.

4-2

41M8-10081

COVER-OIL DRAIN

VENT TYPE #0180

1шт.

4-3

S037-102552

BOLT-W/WASHER

GENERAL TYPE

1шт.

4-3

S037-102556

BOLT-W/WASHER

VENT TYPE #0180

2шт.

5

81EE-01420

COVER

1шт.

6

81EE-01430

SEAL

1шт.

7

S037-102552

BOLT-W/WASHER

#0078

34шт.

7

S037-102552

BOLT-W/WASHER

#0079

34шт.

8

S037-102052

BOLT-W/WASHER

#0078

2шт.

9

41N1-15270

UNDER COVER-C

1шт.

10

41N1-15280

UNDER COVER-D

1шт.

11

41N1-15290

UNDER COVER-MCV

#0007

1шт.

Выбрано товаров: 20