Запчасти Hyundai R80-7A PAGE 3020 HYDRAULIC TANK ГИДРАВЛИЧЕСКАЯ СИСТЕМА

Схема запчастей Hyundai R80-7A - PAGE 3020 HYDRAULIC TANK ГИДРАВЛИЧЕСКАЯ СИСТЕМА
FIT
1:1
100%

Артикул

Название

Примечание

Количество

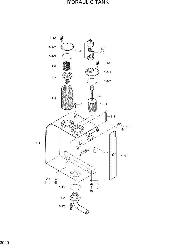
1

31N1-03000

HYD TANK ASSY

1шт.

1-1

31N1-01012

HYD TANK WA

1шт.

1-1-1

31N1-01112

COVER-SUCTION

1шт.

1-1-2

31M8-01241

COVER-RETURN

1шт.

1-1-3

S632-135001

O-RING

2шт.

1-2

31N1-01202

SUCTION PIPE

1шт.

1-3

31M8-01210

STRAINER-SUCTION

1шт.

1-3-1

31M5-70020

ELEMENT-SUCTION

1шт.

1-4

31MH-01310

ELEMENT-RETURN

1шт.

1-5

31E9-1020

SPRING-RETURN

1шт.

1-6

31EE-02100

AIR BREATHER

1шт.

1-61

PM102-0001R

BODY

1шт.

1-62

31EE-02110

ELEMENT

1шт.

1-7

31M5-00240

VALVE-BYPASS

1шт.

1-8

E131-0473

GAUGE-LEVEL

1шт.

1-9

21EA-50260

PACKING-TEMP SW

1шт.

1-1

21EN-40100

SENDER-TEMP

1шт.

1-11

P220-110104

PLUG-HEX,HEAD

1шт.

1-12

S037-102526

BOLT W/WASHER-HEX

14шт.

1-13

S109-060156

BOLT-SOCKET

4шт.

1-14

S631-018004

O-RING

1шт.

1-15

S632-090001

O-RING

1шт.

1-16

31N1-01150

SPONGE

1шт.

2

S017-16040D

BOLT-HEX

4шт.

3

S441-160006

WASHER-HARDENED

4шт.

4

41M5-51920

SHIM(1.0T)

4шт.

5

S017-120156

BOLT-HEX

2шт.

Выбрано товаров: 27