Запчасти Hyundai R110-7A PAGE 1070 FUEL TANK СИСТЕМА ДВИГАТЕЛЯ

Схема запчастей Hyundai R110-7A - PAGE 1070 FUEL TANK СИСТЕМА ДВИГАТЕЛЯ
FIT
1:1
100%

Артикул

Название

Примечание

Количество

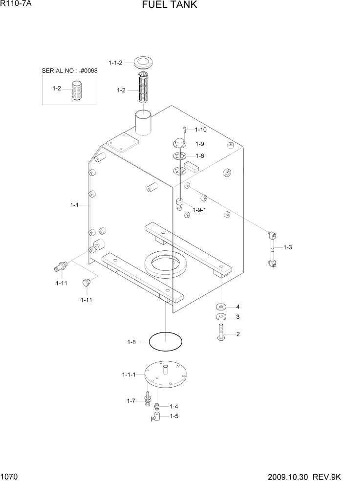
1

31N3-02100

FUEL TANK ASSY

1шт.

1-1

31N3-02110

FUEL TANK WA

1шт.

1-1-1

31N4-02110

COVER-DRAIN

1шт.

1-1-2

E131-1038

CAP-FILLER

1шт.

1-2

31E1-10300

STRAINER

#0068

1шт.

1-2

31QA-02080

STRAINER

#0069

1шт.

1-3

31N6-02600

GAUGE-LEVEL

1шт.

1-4

31E5-3049

FITTING

1шт.

1-5

E131-1006

VALVE-NEEDLE

1шт.

1-6

E128-1053

GASKET

1шт.

1-7

S037-103026

BOLT-W/WASHER

6шт.

1-8

S632-170001

O-RING

1шт.

1-9

21N6-10701

SENDER-FUEL

#0069

1шт.

1-9

21Q4-10700

SENDER-FUEL

#0070

1шт.

1-9-1

21N6-10710

FLOAT

1шт.

1-1

S131-051546

SCREW-W/WASHER

#0001

5шт.

1-11

P220-430204

PLUG-HEX

W/O F/F/PUMP

1шт.

1-11

P090-101208

CONNECTOR-HOSE

WITH F/F/PUMP

1шт.

2

S017-20035D

BOLT-HEX

4шт.

3

91E6-60200

WASHER-HARDENED

4шт.

4

31N8-01300

SHIM(1.0T)

5шт.

Выбрано товаров: 21