Запчасти Hyundai R140LC-7A PAGE 7300 BUCKET CONTROL GROUP РАБОЧЕЕ ОБОРУДОВАНИЕ

Схема запчастей Hyundai R140LC-7A - PAGE 7300 BUCKET CONTROL GROUP РАБОЧЕЕ ОБОРУДОВАНИЕ
FIT
1:1
100%

Артикул

Название

Примечание

Количество

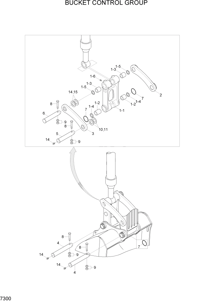
1

62N4-40010

CONTROL ROD ASSY

1шт.

1-1

62N4-40100

CONTROL ROD WA

1шт.

1-2

61EN-13300

BUSHING

2шт.

1-3

61E6-1128

BUSHING

2шт.

1-4

S700-065206

DUST SEAL-DKIY TYPE

2шт.

1-5

S700-070206

SEAL-DUST

4шт.

1-6

S651-810002

NIPPLE-GREASE

2шт.

2

66N4-40020

CONTROL LINK-RH

1шт.

3

66N4-40030

CONTROL LINK-LH

1шт.

4

61E3-12061

PIN

2шт.

5

61N4-11091

PIN

1шт.

6

61N4-11101

PIN

1шт.

7

E161-3052

O-RING

4шт.

8

S017-161306

BOLT-HEX

4шт.

9

S205-16100B

NUT-HEX

8шт.

12

S391-065120

SHIM-ROUND(1.0T)

1шт.

13

S392-065120

SHIM-ROUND(2.0T)

1шт.

14

S391-070120

SHIM-ROUND(1.0T)

1шт.

15

S392-070120

SHIM-ROUND(2.0T)

1шт.

16

S651-810002

NIPPLE-GREASE

3шт.

Выбрано товаров: 0