Запчасти Hyundai R160LC7 PAGE 6260 UNDER COVER СТРУКТУРА

Схема запчастей Hyundai R160LC7 - PAGE 6260 UNDER COVER СТРУКТУРА
FIT
1:1
100%

Артикул

Название

Примечание

Количество

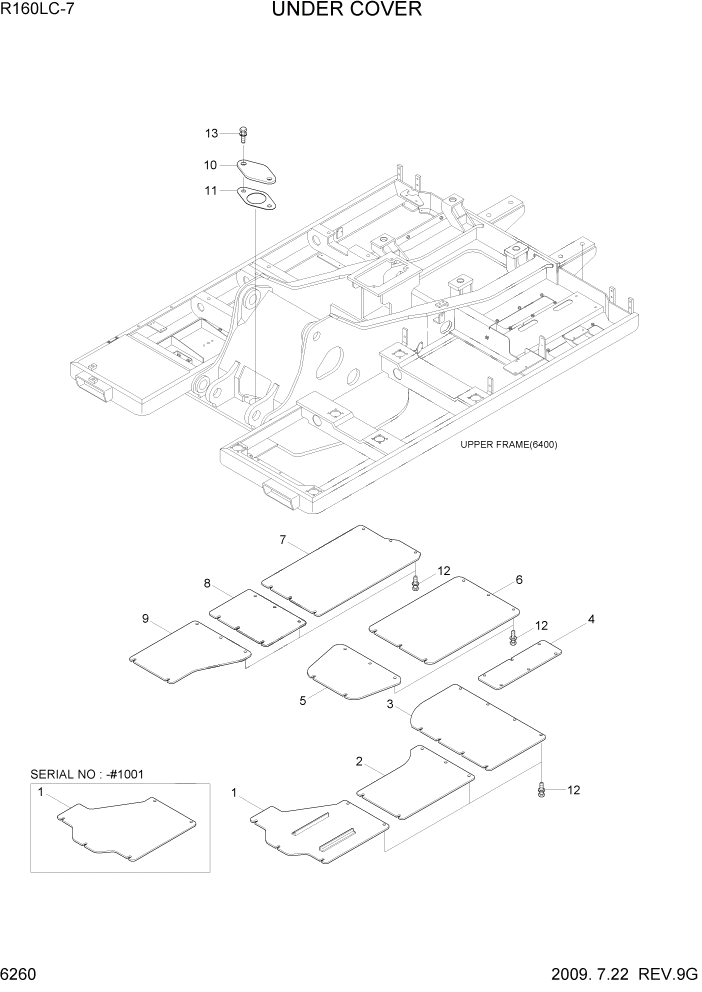
1

41N5-10010

UNDER COVER-CAB(A)

#0336

1шт.

1

41N5-10310

UNDER COVER-CAB(A)

#0337 - #0900

1шт.

1

41N5-10310BG

UNDER COVER-CAB(A)

#0901 - #1001

1шт.

1

43N5-36110

UNDER COVER-CAB(A)

#1002

1шт.

2

41N5-10020

UNDER COVER-CAB(B)

#0900

1шт.

2

41N5-10020BG

UNDER COVER-CAB(B)

#0901

1шт.

3

41N5-10030

UNDER COVER-CAB(C)

#0900

1шт.

3

41N5-10030BG

UNDER COVER-CAB(C)

#0901

1шт.

4

41N8-15280

UNDER COVER-RAD

#0900

1шт.

4

41N8-15280BG

UNDER COVER-RADIATOR

#0901

1шт.

5

41N5-10050

UNDER COVER-MCV

1шт.

6

41N5-10061

UNDER COVER-ENG

#0900

1шт.

6

41N5-10061BG

UNDER COVER-ENGINE

#0901

1шт.

7

41N5-10071

UNDER COVER-PUMP

1шт.

7

41N5-10071BG

UNDER COVER-PUMP

#0901

1шт.

8

41N5-10080

UNDER COVER-H/TANK

1шт.

9

41N5-10090

UNDER COVER-F/TANK

#0900

1шт.

9

41N5-10090BG

UNDER COVER-F/TANK

#0901

1шт.

10

41N6-10100

COVER

#0900

1шт.

10

41N6-10100BG

COVER

#0901

1шт.

10

41N6-10100BG

COVER

#0901 - #1171

1шт.

10

41N6-10100

COVER

#1172

1шт.

11

41E9-1306

SEAL

1шт.

12

S037-102562

BOLT-W/WASHER

52шт.

13

S037-102052

BOLT-W/WASHER

2шт.

Выбрано товаров: 25