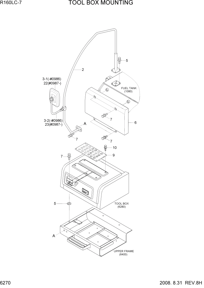
Запчасти Hyundai R160LC7 PAGE 6270 TOOL BOX MOUNTING СТРУКТУРА

Схема запчастей Hyundai R160LC7 - PAGE 6270 TOOL BOX MOUNTING СТРУКТУРА
FIT
1:1
100%

Артикул

Название

Примечание

Количество

2

71N8-42005

PIPE WA

#0900

1шт.

2

71N8-42005BG

PIPE WA

#0901

1шт.

3

71N8-48000

MIRROR & STAY ASSY-RH

#0009

1шт.

3

71N8-48001

MIRROR & STAY ASSY-RH

#0010 - #0900

1шт.

3

71N8-48001BG

MIRROR & STAY ASSY-RH

#0901 - #0986

1шт.

3-1

71N8-47100

MIRROR

#0986

1шт.

3-2

71N8-48100

STAY ASSY-RH

#0009

1шт.

3-2

71N8-48101

STAY ASSY-RH

#0010 - #0900

1шт.

3-2

71N8-48101BG

STAY ASSY-RH

#0901 - #0986

1шт.

5

S390-015040

SHIM-ROUND(0.5T)

4шт.

6

71N5-44100

COVER-FUEL TANK

1шт.

7

S037-122052

BOLT-W/WASHER

14шт.

9

74N4-47100

FOOT BOARD WA(A)

#0712 - #0868

1шт.

9

74N5-47100

FOOT BOARD WA(A)

#0869

1шт.

10

S037-121552

BOLT-W/WASHER

#0712

4шт.

22

71N8-47101

MIRROR

#0987

1шт.

23

71N8-48102BG

STAY ASSY-RH

#0987

1шт.

Выбрано товаров: 17