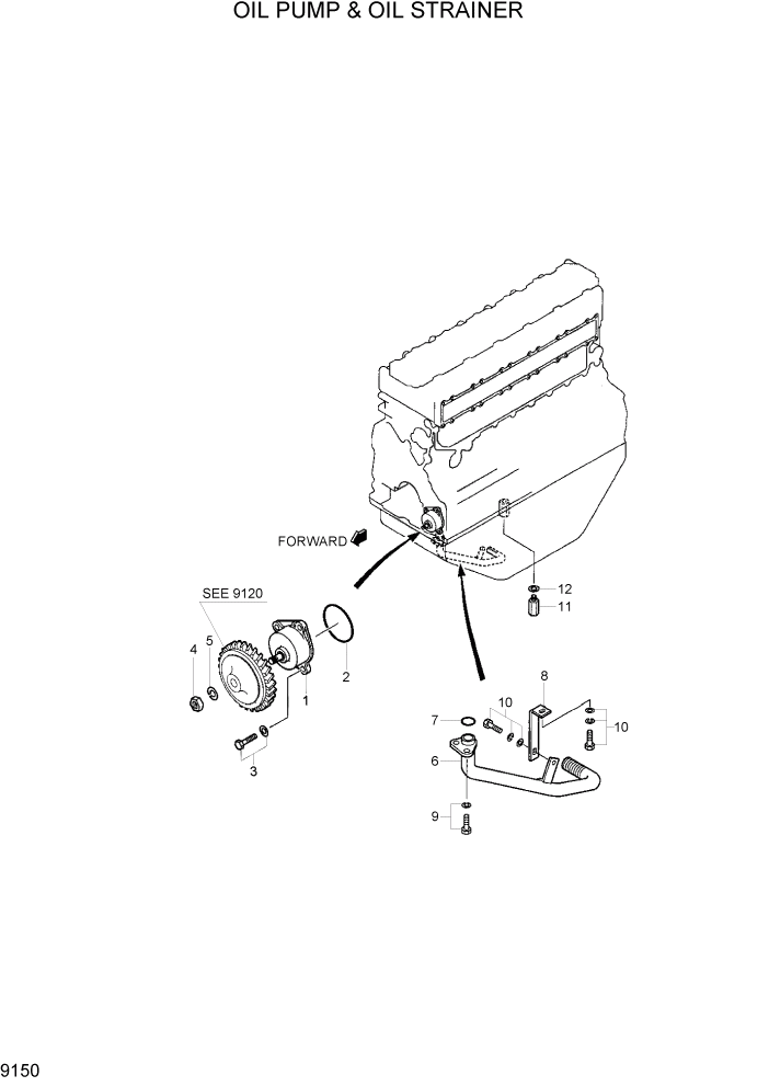
Запчасти Hyundai R160LC7 PAGE 9150 OIL PUMP & OIL STRAINER ДВИГАТЕЛЬ БАЗА

Схема запчастей Hyundai R160LC7 - PAGE 9150 OIL PUMP & OIL STRAINER ДВИГАТЕЛЬ БАЗА
FIT
1:1
100%

Артикул

Название

Примечание

Количество

1

32B35-00011

OIL PUMP ASSY

1шт.

2

6016-1306

O-RING

1шт.

3

F1805-08020

BOLT-W/WASHER

4шт.

4

F2320-10000

NUT-JAM

1шт.

5

F2515-10000

WASHER-SPRING

1шт.

6

32B35-15100

STRAINER-OIL

1шт.

7

F3150-02000

O-RING

1шт.

8

32B35-06200

STAY-OIL STRAINER

1шт.

9

F1805-08016

BOLT-W/WASHER

2шт.

10

F1825-08016

BOLT-W/WASHER

2шт.

11

32A36-00011

VALVE ASSY-SAFETY

1шт.

12

F4202-18000

GASKET

1шт.

Выбрано товаров: 12