Запчасти Hyundai R160LC7 PAGE 2060 CAB ELECTRIC 1 ЭЛЕКТРИЧЕСКАЯ СИСТЕМА

Схема запчастей Hyundai R160LC7 - PAGE 2060 CAB ELECTRIC 1 ЭЛЕКТРИЧЕСКАЯ СИСТЕМА
FIT
1:1
100%

Артикул

Название

Примечание

Количество

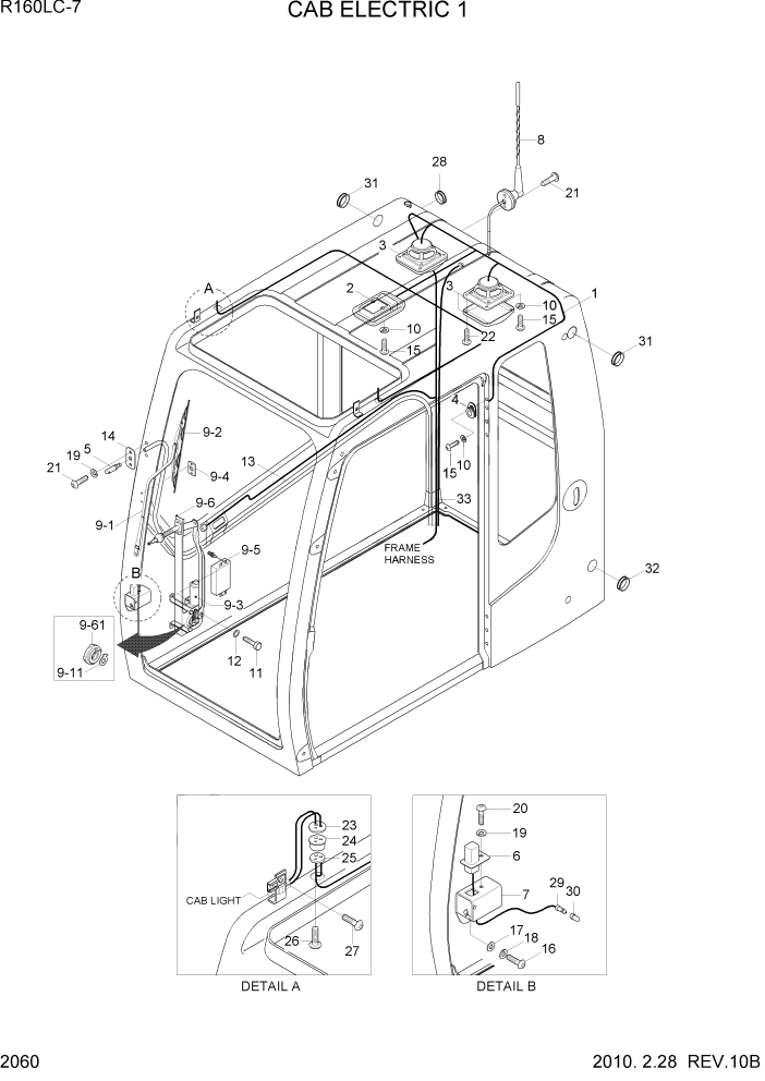
1

21N6-00012

HARNESS-CAB

#0460

1шт.

1

21N6-00013

HARNESS-CAB

#0461

1шт.

2

21EH-0011

LAMP-ROOM

1шт.

3

21N6-10400

SPEAKER

2шт.

4

E123-3022

SWITCH-DOOR

1шт.

5

21N6-00311

NOZZLE

1шт.

6

21M5-50250

SWITCH ASSY

1шт.

7

21N6-00301

BRACKET WA

1шт.

8

21N6-10410

ANTENNA

#1136

1шт.

8

21N4-02840

ANTENNA

#1137

1шт.

9

21N6-00210

WIPER MOTOR KIT ASSY

#0413

1шт.

9

21N6-01210

WIPER MOTOR KIT ASSY

#0414

1шт.

9-1

21N6-00220

ARM-WIPER

#0413

1шт.

9-1

21N6-01220

ARM-WIPER

#0414 - #0988

1шт.

9-1

21N6-01221

ARM-WIPER

#0989

1шт.

9-12

21N6-01300

CAM BASE-W/MOTOR

#0001

1шт.

9-11

21N6-01290

MOTOR CAM

#0001

1шт.

9-2

21N6-00230

BLADE-WIPER

#0413

1шт.

9-2

21N6-01230

BLADE-WIPER

#0414

1шт.

9-3

21N6-00240

MOTOR-WIPER

#0413

1шт.

9-3

21N6-01280

MOTOR-WIPER

#0414

1шт.

9-4

21N6-00250

BRACKET-PARKING

#0413

1шт.

9-4

21N6-01250

BRACKET-PARKING

#0414

1шт.

9-5

21N8-21060

CONTROLLER

#0413

1шт.

9-5

21N6-01270

CONTROLLER-W/MOTOR

#0414 - #0695

1шт.

9-5

21N6-01272

CONTROLLER-W/MOTOR

#0696

1шт.

N9-6

@

BRACKET & LINK ASSY

NOT #0413

1шт.

9-6

21N6-01260

BRACKET & LINK ASSY

#0414

1шт.

9-61

21N6-01300

CAM BASE-W/MOTOR

#0001

1шт.

9-7

21N6-01290

MOTOR-CAM

#0001

1шт.

10

S411-050006

WASHER-SPRING

11шт.

11

S015-080166

BOLT-HEX

3шт.

12

S411-080006

WASHER-SPRING

3шт.

13

21EM-10890

HOSE-WASHER TANK

1шт.

14

E171-1185

PLATE-NOZZLE MTG

1шт.

15

S161-050166

SCREW-CROSS R/ROUND

11шт.

16

S161-060166

SCREW-CROSS R/ROUND

2шт.

17

S403-062006

WASHER-PLAIN

2шт.

18

S411-060006

WASHER-SPRING

8шт.

19

S411-040006

WASHER-SPRING

3шт.

20

S161-040106

SCREW-CROSS R/ROUND

1шт.

21

S151-040166

SCREW-TAPPING

4шт.

22

S151-050126

SCREW-TAPPING

8шт.

23

21N6-10420

PLATE

2шт.

24

21N6-10430

SEAL

2шт.

25

21N6-10440

PLATE

2шт.

26

S161-040166

SCREW-CROSS R/ROUND

2шт.

27

S141-040106

SCREW-FLAT HD

2шт.

28

21N6-00320

GROMMET

1шт.

29

21N8-10090

HARNESS-WIPER

1шт.

30

S890-107508

TUBE-PVC

1шт.

31

S681-410400

GROMMET

2шт.

32

S681-460400

GROMMET

1шт.

33

21N4-22010

EXT HARNESS-USB

#1172

1шт.

N

@

NOT SUPPLIED PARTS

NOT

ARшт.

Выбрано товаров: 55