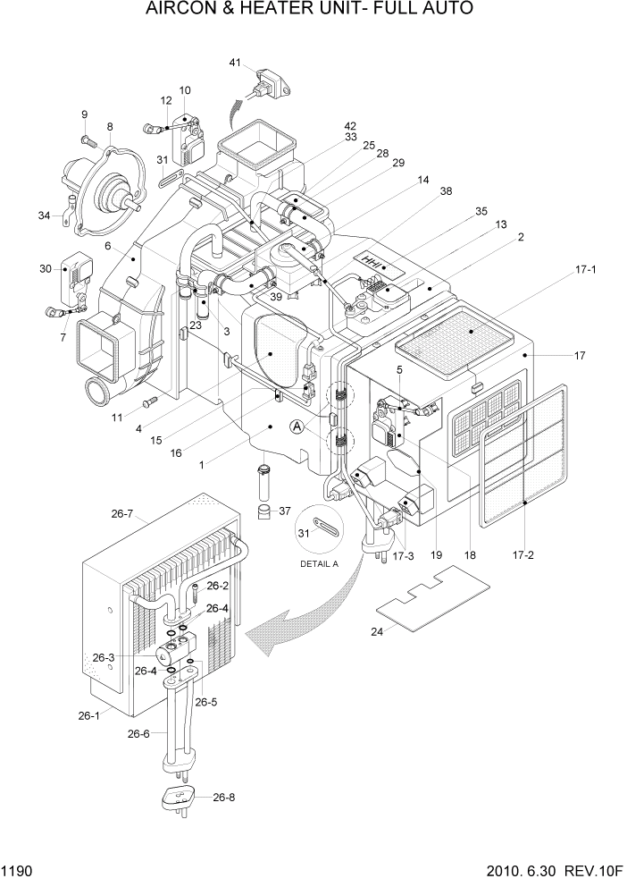
Запчасти Hyundai R160LC7A PAGE 1190 AIRCON & HEATER UNIT-FULL AUTO СИСТЕМА ДВИГАТЕЛЯ

Схема запчастей Hyundai R160LC7A - PAGE 1190 AIRCON & HEATER UNIT-FULL AUTO СИСТЕМА ДВИГАТЕЛЯ
FIT
1:1
100%

Артикул

Название

Примечание

Количество

*

11N6-90420

AIR CON UNIT

1шт.

1

AM12101400-0

HVAC CASE-LOW

1шт.

2

AH000089

HVAC CASE-UPP

1шт.

3

AH000854

I/PIPE & T/SENSOR

1шт.

4

AM75001000-2

EVAC INSULATION-LOW

1шт.

5

AM52300100-4

ROD-INTAKE

1шт.

6

AH001694

BLOWER CASE ASSY

1шт.

7

AW70002400-4

ROD-DEF/FOOT

1шт.

8

11N6-90700

FAN & MOTOR

NOT SHOWN

1шт.

8-1

AH001412

FAN

NOT SHOWN

1шт.

8-2

AW21002500-1

MOTOR

1шт.

9

AH000866

SCREW

3шт.

10

11N6-90710

MOTOR ACT-VENT

1шт.

11

K500531

SCREW

28шт.

12

AW70002300-4

ROD-VENT

1шт.

13

AH100311

MOTOR ACT-TEMP

1шт.

14

AH001160

VLAVE-WATER

1шт.

15

A165400100-2

SENSOR-DUCT

1шт.

16

4AH-0688

CLIP-CASE

9шт.

17

AH000055

INTAKE CASE ASSY

1шт.

17-1

11N6-90760

AIR FILTER-FRESH

1шт.

17-2

11N6-90770

AIR FILTER-REFRESH

1шт.

17-3

11N6-90820

RELAY

1шт.

18

11N6-90740

MOTOR ACT-INTAKE

1шт.

19

AH001617

SEAL-SPONGE

1шт.

23

AH000314

CLAMP-H/RAD PIPE

1шт.

24

A120150700-3

PLATE-SIDE

1шт.

25

11N6-90780

HEATER CORE

1шт.

26

11N6-90790

EVAP CORE ASSY

#0203

1шт.

26

11N6-90791

EVAP CORE ASSY

#0204

1шт.

26-1

A111056400-1

CORE ASSY-LAMI

#0203

1шт.

26-2

A111750100-4

BOLT-WRENCH,HEX

#0203

2шт.

26-3

11N6-90800

VALVE-EXPANSION

#0203

1шт.

26-4

A305000212-2

O-RING

#0203

3шт.

26-5

A305000211-2

O-RING

#0203

1шт.

26-6

A112059600-2

PIPE ASSY

#0203

1шт.

26-7

A115004900-2

INSULATION-CORE

#0203

1шт.

26-8

A306201301-3

CAP-FLANGE

#0203

1шт.

28

AH001853

CLAMP-WATER HOSE

4шт.

29

AH001288

HOSE-OUTLET,WATER

1шт.

30

11N6-90810

MOTOR ACT-FOOT/DEF

1шт.

31

4AH-0643

HOLDER-WIRE

6шт.

33

AH100268

WIRING ASSY

1шт.

34

A710051601-3

HOSE-DRAIN

1шт.

35

AH001161

NAME PLATE

1шт.

37

4CC-3354Z

VALVE-VACUUM

1шт.

38

AH000856

ROD-TEMP

1шт.

39

AH001287

HOSE-INLET,WATER

1шт.

41

AW92000200-2

POWER TR

1шт.

42

AH100312

SENSOR-AMBIENT

2шт.

Выбрано товаров: 50