Запчасти Hyundai R180LC7 PAGE 4300 BUCKET CYLINDER ГИДРАВЛИЧЕСКИЕ КОМПОНЕНТЫ

Схема запчастей Hyundai R180LC7 - PAGE 4300 BUCKET CYLINDER ГИДРАВЛИЧЕСКИЕ КОМПОНЕНТЫ
FIT
1:1
100%

Артикул

Название

Примечание

Количество

*

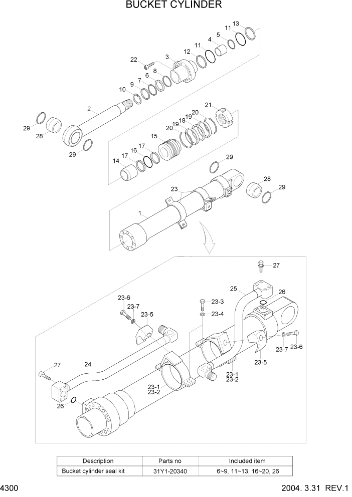
31N5-60110

BUCKET CYL ASSY

#0001

1шт.

*-1

31Y1-20280

BUCKET CYL SUB ASSY

WITHOUT PIPE

1шт.

1

31Y1-20290

TUBE ASSY

1шт.

2

31Y1-04410

ROD ASSY

1шт.

3

31Y1-14700

GLAND

1шт.

4

S732-080040

BUSHING-DD2

1шт.

5

Y191-086000

RING-SNAP

1шт.

K6

Y200-080011

SEAL-ROD

1шт.

K7

Y180-080020

RING-BACK UP

1шт.

K8

Y240-080011

RING-BUFFER

1шт.

K9

Y110-080011

WIPER-DUST

1шт.

10

Y190-094000

RING-SNAP

1шт.

K11

S631-105004

O-RING

2шт.

K12

S641-105002

RING-BACK UP

1шт.

K13

S641-105003

RING-BACK UP

1шт.

14

31YC-21050

RING-CUSHION

1шт.

15

31Y1-03660

PISTON

1шт.

K16

S632-070004

O-RING

1шт.

K17

S642-070003

RING-BACK UP

2шт.

K18

Y420-115000

SEAL-PISTON

1шт.

K19

Y310-115000

RING-WEAR

2шт.

K20

Y440-115000

RING-DUST

2шт.

21

31YC-61050

NUT-LOCK

1шт.

22

S109-180604

BOLT-SOCKET

9шт.

28

31YC-11081

BUSHING-PIN

2шт.

29

Y000-070200

SEAL-DUST

#0001

4шт.

23

31Y1-03670

BAND ASSY

2шт.

23-1

31Y1-03680

BAND SUB ASSY

1шт.

23-2

31YC-31060

BAND

1шт.

23-3

S011-100352

BOLT-HEX

2шт.

23-4

S411-100002

WASHER-SPRING

2шт.

23-5

31YC-36010

CLAMP-PIPE

1шт.

23-6

S015-120502

BOLT-HEX

1шт.

23-7

S411-120002

WASHER-SPRING

1шт.

24

31Y1-20320

PIPE ASSY-R

1шт.

25

31Y1-20330

PIPE ASSY-B

1шт.

K26

Y171-019004

O-RING

2шт.

27

S107-100454

BOLT-SOCKET

8шт.

K

31Y1-20340

SEAL KIT

SEE ILLUST

1шт.

Выбрано товаров: 39