Запчасти Hyundai R180LC7 PAGE 9130 INLET & EXHAUST SYSTEM ДВИГАТЕЛЬ БАЗА

Схема запчастей Hyundai R180LC7 - PAGE 9130 INLET & EXHAUST SYSTEM ДВИГАТЕЛЬ БАЗА
FIT
1:1
100%

Артикул

Название

Примечание

Количество

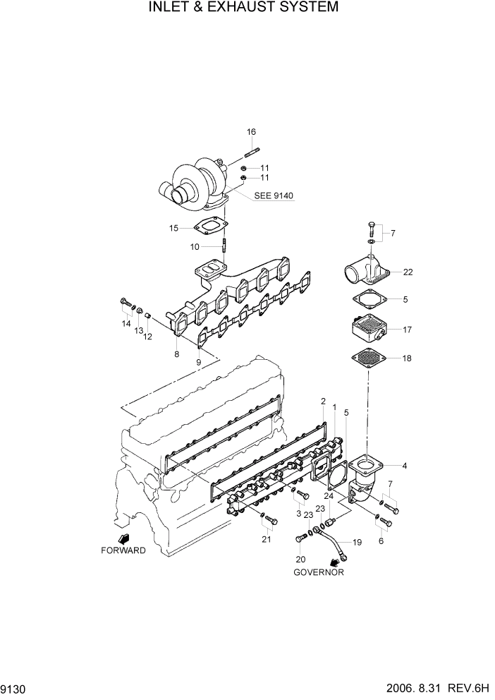
1

32B30-00500

MANIFOLD-INLET

1шт.

2

32B30-00201

GASKET-INLET MANF

#0001

1шт.

3

F1805-08040

BOLT-W/WASHER

23шт.

4

32B30-01700

ELBOW-AIR INLET

1шт.

5

34330-043

GASKET-AIR HEATER

2шт.

6

F1805-08020

BOLT-W/WASHER

2шт.

7

F1805-08065

BOLT-W/WASHER

6шт.

8

32B32-00501

MANIFOLD-EXHAUST

1шт.

9

32B32-00200

GASKET-EXHAUST MANF

1шт.

10

F1450-10030

STUD

4шт.

11

32332-00801

NUT-LOCK

8шт.

12

32B32-00901

SPACER

12шт.

13

34332-21301

WASHER

12шт.

14

F1805-08050

BOLT-W/WASHER

12шт.

15

36732-049

GASKET

1шт.

16

F1450-10030

STUD

3шт.

17

32B66-06200

HEATER-AIR

1шт.

18

34330-042

GASKET

1шт.

19

MH032788

HOSE-FLEXIBLE

1шт.

20

F4610-10000

BOLT-EYE

1шт.

21

F1850-08045

BOLT-W/WASHER

1шт.

22

36730-21034

ELBOW-AIR INLET

1шт.

23

F4202-10000

GASKET

2шт.

24

31B33-00300

CONNECTOR

1шт.

Выбрано товаров: 24