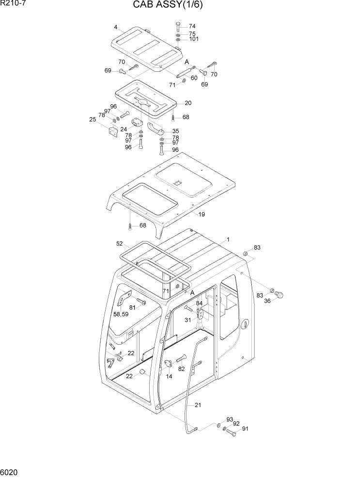
Запчасти Hyundai R210-7 PAGE 6020 CAB ASSY(1/6) СТРУКТУРА

Схема запчастей Hyundai R210-7 - PAGE 6020 CAB ASSY(1/6) СТРУКТУРА
FIT
1:1
100%

Артикул

Название

Примечание

Количество

*

75N6-10000

CAB ASSY

1шт.

1

75N6-00010

CAB WA

1шт.

4

71N6-02400BG

SUN ROOF WA

1шт.

14

71N6-02770

STRIKER

1шт.

19

71N6-02810

LINING(1)-HEAD

1шт.

20

71N6-02820

LINING(2)-HEAD

1шт.

21

71N6-02831BG

RAIL-HAND

1шт.

22

71N6-02841

STOPPER

2шт.

24

71N6-02860

LATCH-ROOF

1шт.

25

71N6-02870

BRACKET-ROOF

1шт.

31

71N6-02920

HOOK-COAT

1шт.

35

E171-1147

HANDLE

1шт.

36

71EH-13150

RUBBER-BUMPER

2шт.

52

S772-020300

WEATHER STRIP

1шт.

58

71N6-03181

STOPPER-LH

1шт.

59

71N6-03191

STOPPER-RH

1шт.

60

71N6-03201

SPRING-GAS

2шт.

68

E171-1310

PLUG-HEADLINER

18шт.

69

S491-080162

PIN-CLEVIS

4шт.

70

S461-200162

PIN-SPLIT

4шт.

71

S403-08200B

WASHER-PLAIN

4шт.

74

S015-080206

BOLT-HEX

4шт.

75

S411-080006

WASHER-SPRING

4шт.

78

S403-05200B

WASHER-PLAIN

8шт.

81

S141-060206

SCREW-FLAT HD

4шт.

82

S145-080166

SCREW-FLAT HD

2шт.

83

S203-101006

NUT-HEX

4шт.

84

S141-040206

SCREW-FLAT HD

2шт.

91

S017-160206

BOLT-HEX

3шт.

92

S411-160006

WASHER-SPRING

3шт.

93

S403-16200B

Deleted

3шт.

96

S161-050166

SCREW-CROSS R/ROUND

8шт.

97

S411-050006

WASHER-SPRING

8шт.

101

S403-08200B

WASHER-PLAIN

4шт.

Выбрано товаров: 0