Запчасти Hyundai R290LC7H PAGE 6260 UNDER COVER СТРУКТУРА

Схема запчастей Hyundai R290LC7H - PAGE 6260 UNDER COVER СТРУКТУРА
FIT
1:1
100%

Артикул

Название

Примечание

Количество

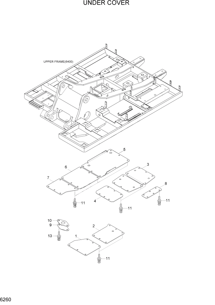
1

41N8-15211

UNDER COVER-CAB,A

1шт.

2

41N8-15222

UNDER COVER-CAB,B

1шт.

3

41N8-15233

UNDER COVER-ENGINE

2шт.

4

41N8-15242

UNDER COVER-MCV

1шт.

5

41N8-15252

UNDER COVER-PUMP

1шт.

6

41N8-15261

UNDER COVER-HYD

1шт.

7

41N8-15270

UNDER COVER-FUEL

1шт.

8

41N8-15280

UNDER COVER-RADIATOR

1шт.

9

41N6-10100

COVER

1шт.

10

41E9-1306

SEAL

1шт.

11

S037-102562

BOLT-W/WASHER

52шт.

13

S037-102052

BOLT-W/WASHER

2шт.

Выбрано товаров: 12