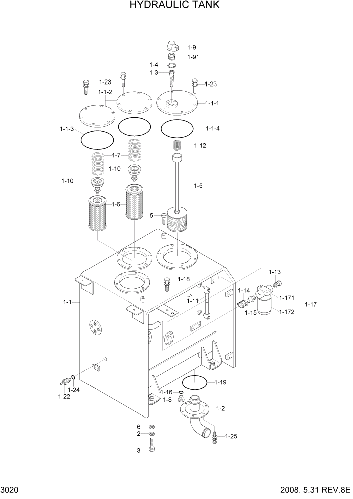
Запчасти Hyundai R320LC7A PAGE 3020 HYDRAULIC TANK ГИДРАВЛИЧЕСКАЯ СИСТЕМА

Схема запчастей Hyundai R320LC7A - PAGE 3020 HYDRAULIC TANK ГИДРАВЛИЧЕСКАЯ СИСТЕМА
FIT
1:1
100%

Артикул

Название

Примечание

Количество

1

@

HYD TANK ASSY

NOT

1шт.

1-1

31N8-01013

HYD TANK WA

#0001 - #0303

1шт.

1-1

31N8-01014

HYD TANK WA

#0304

1шт.

1-1-1

31N8-01280

COVER ASSY-SUCTION

#0001

1шт.

1-1-2

31E6-40540

COVER-RETURN

2шт.

1-1-3

S632-170001

O-RING

#0001

2шт.

1-1-4

S632-220001

O-RING

#0001

1шт.

1-2

31N8-01271

PIPE-SUCTION

1шт.

1-3

31EH-00090

STRAINER

1шт.

1-4

S602-065004

RING-RETAINING

1шт.

1-5

31N8-01200

STRAINER ASSY

1шт.

1-51

E131-0214

ELEMENT

1шт.

1-6

31E9-1019

ELEMENT-RETURN

#0151

2шт.

1-6

31N8-01510

ELEMENT-RETURN

#0152

2шт.

1-7

31E9-1020

SPRING-RETURN

2шт.

1-8

P220-110104

PLUG-HEX,HEAD

1шт.

1-9

31NA-00040

AIR BREATHER

1шт.

1-91

31EH-00480

ELEMENT

1шт.

1-1

E131-0256

VALVE-BYPASS

2шт.

1-11

E131-0473

GAUGE-LEVEL

1шт.

1-12

E131-0594

SPRING

1шт.

1-13

31N6-03100

CONNECTOR

#0151

1шт.

1-13

X500-110019

CONNECTOR-ORFS

#0152

1шт.

1-14

E131-0671

COUPLING

1шт.

1-15

31E9-1051

FITTING

#0151

1шт.

1-15

31N8-01521

FITTING

#0152

1шт.

1-16

S631-018004

O-RING

1шт.

1-17

31E9-0084

FILTER-SPIN

#0151

1шт.

1-17

31N8-01350

FILTER-SPIN

#0152

1шт.

1-171

31E9-0127

HEAD

#0151

1шт.

1-171

31N8-01370

HEAD-DRAIN FILTER

#0152

1шт.

1-172

31E9-0126

CARTRIGE-SPIN FILTER

#0151

1шт.

1-172

31N8-01360

CARTRIGE-SPIN FILTER

#0152

1шт.

1-18

S037-102026

BOLT-W/WASHER

2шт.

1-19

S632-150001

O-RING

1шт.

1-22

21EN-40100

SENDER-TEMP

1шт.

1-23

S037-102526

BOLT-W/WASHER

18шт.

1-24

21EA-50260

PACKING-TEMP SW

1шт.

1-25

S037-103026

BOLT W/WASHER-HEX

6шт.

2

31N8-01300

SHIM(1.0T)

5шт.

3

S017-20050D

BOLT-HEX

4шт.

4

S411-200006

WASHER-SPRING

4шт.

5

S017-120206

BOLT-HEX

#0151

2шт.

6

91E6-60200

WASHER-HARDENED

4шт.

Выбрано товаров: 44