Запчасти Hyundai R370LC7 PAGE 6020 CAB ASSY(1/6, STD & FOG TYPE) СТРУКТУРА

Схема запчастей Hyundai R370LC7 - PAGE 6020 CAB ASSY(1/6, STD & FOG TYPE) СТРУКТУРА
FIT
1:1
100%

Артикул

Название

Примечание

Количество

*

71N6-10001

CAB ASSY

STD

1шт.

*

73N6-10000

CAB ASSY

FOG TYPE

1шт.

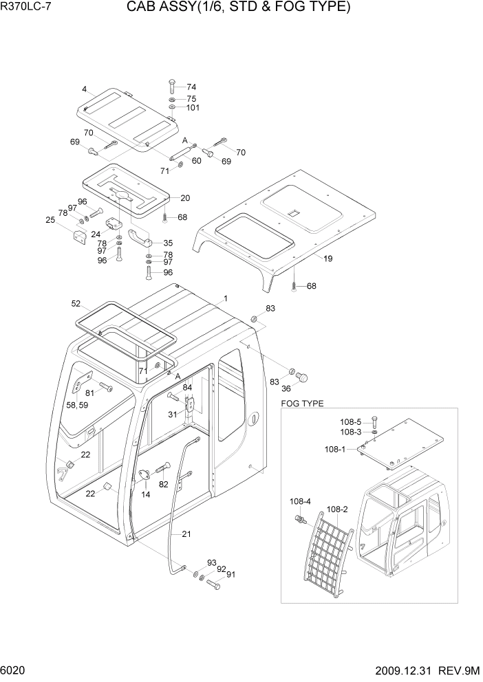
1

71N6-00011

CAB WA

STD

1шт.

1

73N6-00010

CAB WA

FOG TYPE

1шт.

4

71N6-02400

SUN ROOF WA

1шт.

14

71N6-02770

STRIKER

1шт.

19

71N6-02810

LINING(1)-HEAD

1шт.

20

71N6-02820

LINING(2)-HEAD

1шт.

21

71N6-02831

RAIL-HAND

1шт.

22

71N6-02841

STOPPER

2шт.

24

71N6-02860

LATCH-ROOF

1шт.

25

71N6-02870

BRACKET-ROOF

1шт.

31

71N6-02920

HOOK-COAT

1шт.

35

E171-1147

HANDLE

1шт.

36

71EH-13150

BUMPER-RUBBER

2шт.

52

S772-020300

WEATHER STRIP

1шт.

58

71N6-03181

STOPPER-LH

1шт.

59

71N6-03191

STOPPER-RH

1шт.

60

71N6-03201

SPRING-GAS

#0259

2шт.

60

71N6-03202

SPRING-GAS

#0260

2шт.

68

E171-1310

PLUG-HEADLINER

18шт.

69

S491-080162

PIN-CLEVIS

4шт.

70

S461-200162

PIN-SPLIT

#0259

4шт.

70

71Q6-03160

PIN-CLEVIS

#0260

4шт.

71

S403-082006

WASHER-PLAIN

#0259

4шт.

71

S501-070006

PIN-SELF LOCKING

#0260

4шт.

74

S015-080206

BOLT-HEX

4шт.

75

S411-080006

WASHER-SPRING

4шт.

78

S403-052006

WASHER-PLAIN

8шт.

81

S141-060206

SCREW-FLAT HD

4шт.

82

S145-080166

SCREW-FLAT HD

2шт.

83

S203-101006

NUT-HEX

4шт.

84

S141-040206

SCREW-FLAT HD

2шт.

91

S017-160206

BOLT-HEX

3шт.

92

S411-160006

WASHER-SPRING

3шт.

93

S403-162006

WASHER-PLAIN

3шт.

96

S161-050166

SCREW-CROSS R/ROUND

8шт.

97

S411-050006

WASHER-SPRING

8шт.

101

S403-082006

WASHER-PLAIN

4шт.

108

73N6-05000

GUARD ASSY

FOG TYPE

1шт.

108-1

73N6-05010

GUARD WA-TOP

FOG TYPE

1шт.

108-2

73N6-05020

GUARD WA-FRONT

FOG TYPE

1шт.

108-3

S441-120006

WASHER-HARDENED

FOG TYPE

1шт.

108-4

S037-122526

BOLT-W/WASHER

FOG TYPE

8шт.

108-5

S017-120306

BOLT-HEX

FOG TYPE

6шт.

*-1

@

ELECTRIC CAB ASSY

NOT

1шт.

Выбрано товаров: 46