Запчасти Hyundai R370LC7 PAGE 6270 TOOL BOX MOUNTING СТРУКТУРА

Схема запчастей Hyundai R370LC7 - PAGE 6270 TOOL BOX MOUNTING СТРУКТУРА
FIT
1:1
100%

Артикул

Название

Примечание

Количество

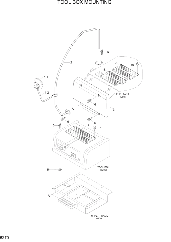
2

71N8-42005BG

PIPE WA

1шт.

3

71N8-44200

COVER-FUEL TANK

1шт.

4

71N8-48001BG

MIRROR & STAY ASSY-RH

1шт.

4-1

71N8-47100

MIRROR

1шт.

4-2

71N8-48101BG

STAY ASSY-RH

1шт.

5

S390-015040

SHIM-ROUND(0.5T)

4шт.

6

S037-122556

BOLT-W/WASHER

14шт.

7

72N8-49100

FOOT BOARD-TOOL BOX

1шт.

8

72N8-49200

FOOT BOARD-F/TANK(A)

1шт.

9

72N8-49300

FOOT BOARD-F/TANK(B)

1шт.

10

S037-121556

BOLT-W/WASHER

13шт.

Выбрано товаров: 0