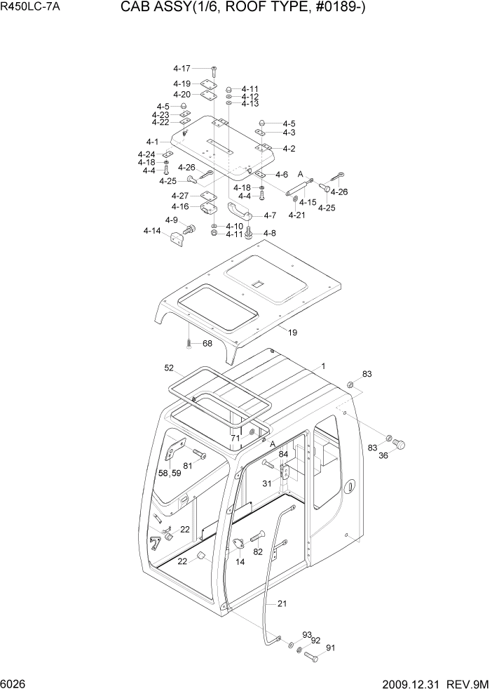
Запчасти Hyundai R450LC7A PAGE 6026 CAB ASSY(1/6, ROOF TYPE, #0189-) СТРУКТУРА

Схема запчастей Hyundai R450LC7A - PAGE 6026 CAB ASSY(1/6, ROOF TYPE, #0189-) СТРУКТУРА
FIT
1:1
100%

Артикул

Название

Примечание

Количество

*

76N6-18000

CAB ASSY

ROOF TYPE #0189

1шт.

1

76N6-00010

CAB WA

1шт.

4

72N6-05000

COVER-SUN ROOF ASSY

1шт.

4-1

72N6-05010

COVER-ROOF

1шт.

4-2

72N6-05020

HINGE

2шт.

4-3

72N6-05030

PAD-RUBBER

2шт.

4-4

S175-060206

SCREW-SOCKET RD HD

8шт.

4-5

S291-060006

CAP NUT-DOMED

8шт.

4-6

72N6-05040

PLATE-HINGE

2шт.

4-7

E171-1147

HANDLE

1шт.

4-8

S131-052046

SCREW-W/WASHER

2шт.

4-9

S131-051556

SCREW-W/WASHER

2шт.

4-1

S411-050006

WASHER-SPRING

4шт.

4-11

S291-050006

CAP NUT-DOMED

6шт.

4-12

72N6-05050

PLATE-HANDLE

2шт.

4-13

72N6-05060

PAD-RUBBER

2шт.

4-14

72N6-05070

PLATE

1шт.

4-15

71N6-03201

SPRING-GAS

#0290

2шт.

4-15

71N6-03202

SPRING-GAS

#0291

2шт.

4-16

71N6-02860

LATCH-ROOF

1шт.

4-17

S175-050256

SCREW-SOCKET RD HD

4шт.

4-18

S411-060006

WASHER-SPRING

8шт.

4-19

72N6-05080

PAD-RUBBER

1шт.

4-2

72N6-05090

PLATE

1шт.

4-21

S403-08200B

WASHER-PLAIN

4шт.

4-22

72N6-05110

PLATE-GAS SPRING

2шт.

4-23

72N6-05120

PAD-RUBBER

2шт.

4-24

72N6-05130

PLATE-GAS SPRING

2шт.

4-25

S491-080162

PIN-CLEVIS

#0290

4шт.

4-25

71Q6-03160

PIN-CLEVIS

#0291

4шт.

4-26

S461-200162

PIN-SPLIT

#0229

4шт.

4-26

S501-070006

PIN-SELF LOCKING

#0291

4шт.

4-27

72N6-05100

PAD-RUBBER

1шт.

14

71N6-02770

STRIKER

1шт.

19

71N6-02810

LINING(1)-HEAD

1шт.

21

71N6-02831BG

RAIL-HAND

1шт.

22

71N6-02841

STOPPER

2шт.

31

71N6-02920

HOOK-COAT

1шт.

36

71EH-13150

BUMPER-RUBBER

2шт.

52

S772-020300

WEATHER STRIP

1шт.

58

71N6-03181

STOPPER-LH

1шт.

59

71N6-03191

STOPPER-RH

1шт.

68

E171-1310

PLUG-HEADLINER

18шт.

81

S141-060206

SCREW-FLAT HD

4шт.

82

S145-080166

SCREW-FLAT HD

2шт.

83

S203-101006

NUT-HEX

4шт.

84

S141-040206

SCREW-FLAT HD

2шт.

91

S017-16020D

BOLT-HEX

3шт.

92

S411-160006

WASHER-SPRING

3шт.

93

S403-162006

WASHER-PLAIN

3шт.

*-1

@

ELECTRIC CAB ASSY

NOT

1шт.

Выбрано товаров: 51