Запчасти Hyundai R800LC7A PAGE 2060 CAB ELECTRIC 1 ЭЛЕКТРИЧЕСКАЯ СИСТЕМА

Схема запчастей Hyundai R800LC7A - PAGE 2060 CAB ELECTRIC 1 ЭЛЕКТРИЧЕСКАЯ СИСТЕМА
FIT
1:1
100%

Артикул

Название

Примечание

Количество

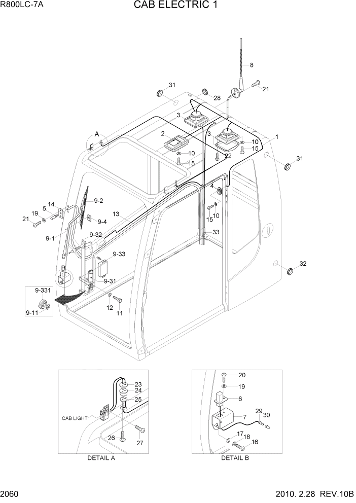
1

21N6-00013

HARNESS-CAB

1шт.

2

21EH-0011

LAMP-ROOM

1шт.

2-1

21E1-49690

BULB-ROOM LAMP

NOT SHOWN

1шт.

3

21N6-10401

SPEAKER

2шт.

4

E123-3022

SWITCH-DOOR

1шт.

5

21N6-00311

NOZZLE

1шт.

6

21M5-50250

SWITCH ASSY

1шт.

7

21N6-00301

BRACKET WA

1шт.

8

21N6-10410

ANTENNA

#0032

1шт.

8

21N4-02840

ANTENNA

#0033

1шт.

9

21N6-01210

WIPER MOTOR KIT ASSY

1шт.

9-1

21N6-01220

ARM-WIPER

#0012

1шт.

9-1

21N6-01221

ARM-WIPER

#0013

1шт.

9-11

21N6-01290

MOTOR CAM

1шт.

9-2

21N6-01230

BLADE-WIPER

1шт.

9-3

21N6-01241

WIPER MOTOR ASSY

1шт.

9-31

21N6-01281

MOTOR-WIPER

1шт.

9-32

21N6-01260

BRACKET & LINK ASSY

1шт.

9-33

21N6-01272

CONTROLLER-W/MOTOR

1шт.

9-331

21N6-01300

CAM BASE-W/MOTOR

1шт.

9-4

21N6-01250

BRACKET-PARKING

1шт.

9-5

21N6-01290

MOTOR-CAM

1шт.

10

S411-050006

WASHER-SPRING

11шт.

11

S015-080166

BOLT-HEX

3шт.

12

S411-080006

WASHER-SPRING

3шт.

13

21EM-10890

HOSE-WASHER TANK

1шт.

14

E171-1185

PLATE-NOZZLE MTG

1шт.

15

S161-050166

SCREW-CROSS R/ROUND

11шт.

16

S161-060166

SCREW-CROSS R/ROUND

2шт.

17

S403-06200B

WASHER-PLAIN

2шт.

18

S411-060006

WASHER-SPRING

8шт.

19

S411-040006

WASHER-SPRING

3шт.

20

S161-040106

SCREW-CROSS R/ROUND

1шт.

21

S151-040166

SCREW-TAPPING

4шт.

22

S151-050126

SCREW-TAPPING

8шт.

23

21N6-10420

PLATE

2шт.

24

21N6-10430

SEAL

2шт.

25

21N6-10440

PLATE

2шт.

26

S161-040166

SCREW-CROSS R/ROUND

2шт.

27

S141-040106

SCREW-FLAT HD

2шт.

28

21N6-00320

GROMMET

1шт.

29

21N8-10091

HARNESS-WIPER

1шт.

30

S890-107508

TUBE-PVC

1шт.

31

S681-410400

GROMMET

2шт.

32

S681-460400

GROMMET

1шт.

33

21N4-22010

EXT HARNESS-USB

#0039

1шт.

Выбрано товаров: 46