Запчасти Hyundai R140W9 PAGE 6280 TOOL BOX СТРУКТУРА

Схема запчастей Hyundai R140W9 - PAGE 6280 TOOL BOX СТРУКТУРА
FIT
1:1
100%

Артикул

Название

Примечание

Количество

*

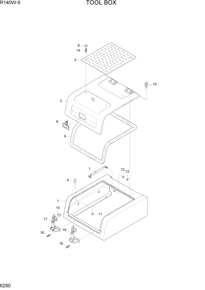
71Q4-40102

TOOL BOX ASSY

1шт.

1

71Q4-41002

TOOL BOX WA

1шт.

2

71Q4-42002

COVER WA

1шт.

3

71Q4-42101

NON-SLIP PLATE(A)

1шт.

4

71Q6-41200

STOPPER-RUBBER

2шт.

6

71M8-41041

HOLDER-PULLS

#0005

1шт.

6

71Q6-42600

HOLDER-PULLS

#0006

1шт.

7

71Q4-41600

GAS SPRING

1шт.

8

71Q6-41700

CAP

4шт.

9

S772-024000

WEATHER STRIP

1шт.

10

S037-102556

BOLT-W/WASHER

4шт.

11

S275-060006

NUT-SELF LOCKING

4шт.

12

S403-08200B

WASHER-PLAIN

2шт.

13

S203-081006

NUT-HEX

2шт.

15

71Q6-41900

STOPPER-RUBBER

4шт.

14

71Q6-50020

BOLT-W/WASHER,HEX

4шт.

15

71Q6-41900

STOPPER-RUBBER

2шт.

17

71Q6-42400

CATCH ASSY

2шт.

18

S035-082026

BOLT-W/WASHER

8шт.

Выбрано товаров: 19