Запчасти Hyundai R170W9 PAGE 1100 AIR CONDITIONER MOUNTING СИСТЕМА ДВИГАТЕЛЯ

Схема запчастей Hyundai R170W9 - PAGE 1100 AIR CONDITIONER MOUNTING СИСТЕМА ДВИГАТЕЛЯ
FIT
1:1
100%

Артикул

Название

Примечание

Количество

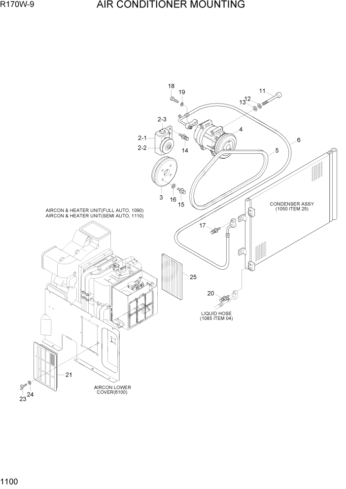
1

11Q6-90071

CONDENSER-R/DRYER

1шт.

2

11N6-90110

PULLEY-IDLE

1шт.

2-1

A4760-508-00-2

BRACKET-PULLEY

1шт.

2-2

A4700-511-01-2

PULLEY-IDLE

1шт.

2-3

A8900-518-03-3

BOLT-TENSION

1шт.

3

11N8-97101

PULLEY-AIR CON

1шт.

4

11Q6-90040

COMPRESSOR ASSY

1шт.

5

11N6-91130

V-BELT

1шт.

6

11Q4-90410

HOSE-DISCHARGE

1шт.

11

S109-080856

BOLT-SOCKET

3шт.

12

S411-080006

WASHER-SPRING

3шт.

13

S403-082006

WASHER-PLAIN

3шт.

14

S037-102026

BOLT-W/WASHER

3шт.

15

S088-070166

BOLT-HEX,UNIFIED

4шт.

16

S441-10000B

WASHER-HARDENED

4шт.

17

S035-083026

BOLT-W/WASHER

1шт.

18

S018-100306

BOLT-HEX

1шт.

19

S403-100006

WASHER-PLAIN

1шт.

20

S035-063046

BOLT-W/WASHER

1шт.

21

11Q6-90240

FILTER-REC

1шт.

23

S091-060206

BOLT-WING

3шт.

24

S403-06500B

WASHER-PLAIN

3шт.

25

11Q6-90510

FILTER-AIR CON

1шт.

Выбрано товаров: 0