Запчасти Hyundai R210W-9 PAGE 6260 UNDER COVER СТРУКТУРА

Схема запчастей Hyundai R210W-9 - PAGE 6260 UNDER COVER СТРУКТУРА
FIT
1:1
100%

Артикул

Название

Примечание

Количество

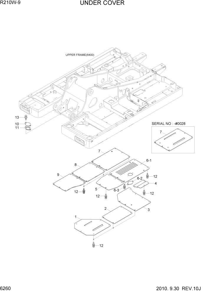
1

41Q6-11112

UNDER COVER-CAB

1шт.

2

41Q6-11121

UNDER COVER-CAB

1шт.

3

41Q6-11131

UNDER COVER-CAB

1шт.

4

41Q6-10041

UNDER COVER-RADIATOR

1шт.

5

41Q6-11150

UNDER COVER-MCV

1шт.

6

41Q6-11200

UNDER COVER ASSY

1шт.

6-1

41Q6-11210

UNDER COVER-ENGINE

1шт.

6-2

41Q6-10170

COVER-UNDER

1шт.

6-3

41Q8-60025

BOLT-W/WASHER

2шт.

7

41Q6-11171

UNDER COVER-PUMP

#0028

1шт.

7

41Q6-11172

UNDER COVER-PUMP

#0029

1шт.

8

41Q6-11180

UNDER COVER-H/TANK

1шт.

9

41Q6-11191

UNDER COVER-F/TANK

1шт.

10

41N6-10100

COVER

1шт.

11

41E9-1306

SEAL

1шт.

12

41Q8-60030

BOLT-W/WASHER

48шт.

13

S037-102556

BOLT-W/WASHER

2шт.

Выбрано товаров: 17