Запчасти Hyundai R55W7A PAGE 1010 ENGINE MOUNTING СИСТЕМА ДВИГАТЕЛЯ

Схема запчастей Hyundai R55W7A - PAGE 1010 ENGINE MOUNTING СИСТЕМА ДВИГАТЕЛЯ
FIT
1:1
100%

Артикул

Название

Примечание

Количество

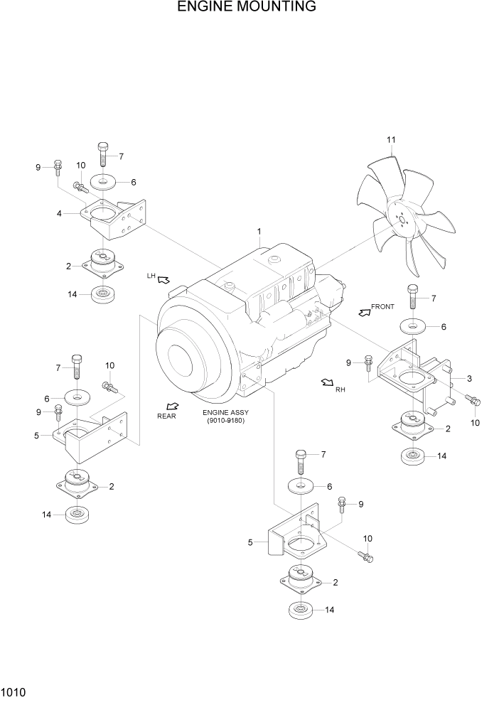
1

11M8-06010

ENGINE ASSY

1шт.

2

11M8-07550

RESILIENT

4шт.

3

11M8-00150

BRACKET-COMP

1шт.

4

11M8-00020

BRACKET

1шт.

5

11M8-00030

BRACKET

2шт.

6

11M8-00130

WASHER-OVERLOAD

4шт.

7

S017-16110D

BOLT-HEX

4шт.

9

S035-082526

BOLT-W/WASHER

16шт.

10

S037-103026

BOLT-W/WASHER

20шт.

11

11N1-00110

FAN-COOLING

1шт.

14

11N1-10000

WASHER-OVERLOAD

4шт.

Выбрано товаров: 11