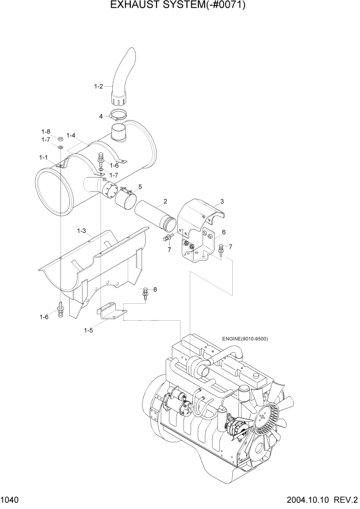
Запчасти Hyundai R140W7 PAGE 1040 EXHAUST SYSTEM(-#0071) СИСТЕМА ДВИГАТЕЛЯ

Схема запчастей Hyundai R140W7 - PAGE 1040 EXHAUST SYSTEM(-#0071) СИСТЕМА ДВИГАТЕЛЯ
FIT
1:1
100%

Артикул

Название

Примечание

Количество

*

@

EXHAUST SYSTEM

NOT #0071

1шт.

1

11N4-33000

MUFFLER SUB ASSY

1шт.

1-1

11N4-30020

MUFFLER WA

1шт.

1-2

11N4-33010

PIPE-TAIL

1шт.

1-3

15EA-30032

BRACKET-MUFFLER

1шт.

1-4

11EM-30130

CLAMP-BAND

2шт.

1-5

15EA-30040

BRACKET

1шт.

1-6

S037-103022

BOLT-W/WASHER

5шт.

1-7

S403-102002

WASHER-PLAIN

5шт.

1-8

S203-101002

NUT-HEX

3шт.

2

11N4-30030

CONNECTOR-PIPE

1шт.

3

11N4-30070

COVER

1шт.

4

11E6-32070

CLAMP-EXHAUST PIPE

1шт.

5

11N6-30040

SEAL CLAMP ASSY

1шт.

6

11N6-30060

BARCKET

1шт.

7

S037-102522

BOLT-W/WASHER

6шт.

8

S037-123522

BOLT-W/WASHER

2шт.

Выбрано товаров: 17