Запчасти Hyundai R200W7A PAGE 4180 BOOM CYLINDER ГИДРАВЛИЧЕСКИЕ КОМПОНЕНТЫ

Схема запчастей Hyundai R200W7A - PAGE 4180 BOOM CYLINDER ГИДРАВЛИЧЕСКИЕ КОМПОНЕНТЫ
FIT
1:1
100%

Артикул

Название

Примечание

Количество

*

31N6-53115

BOOM CYL ASSY-RH

1шт.

*

31N6-53125

BOOM CYL ASSY-LH

1шт.

*-1

31Y1-21605

BOOM CYL SUB ASSY

WITHOUT PIPE

1шт.

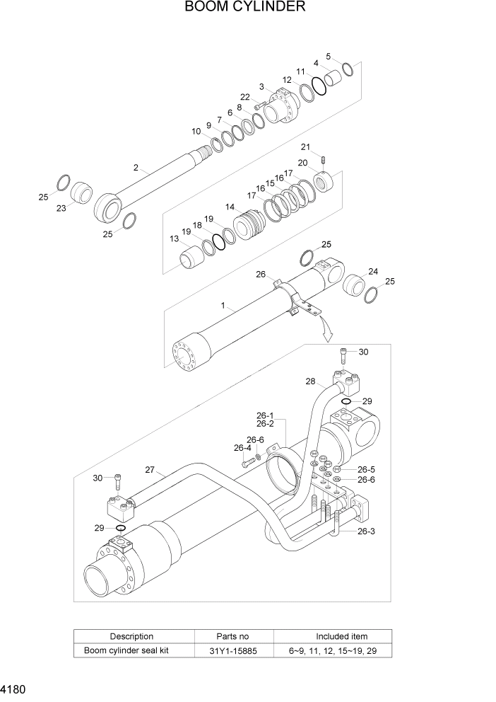
1

31Y1-20605

TUBE ASSY

1шт.

2

31Y1-15775

ROD ASSY

1шт.

3

31Y1-20635

GLAND

1шт.

4

S732-085030

BUSHING-DU

1шт.

5

Y191-092000

RING-SNAP

1шт.

K6

Y220-085011

SEAL-ROD

1шт.

K7

Y180-085020

RING-BACK UP

1шт.

K8

Y240-085013

RING-BUFFER

1шт.

K9

Y110-085011

WIPER-DUST

1шт.

10

Y190-099000

RING-SNAP

1шт.

K11

S631-110004

O-RING

1шт.

K12

31YC-BP110

RING-BACK UP

1шт.

13

31YC-26060

RING-CUSHION

1шт.

14

31Y1-15815

PISTON

1шт.

K15

Y420-120000

SEAL-PISTON

1шт.

K16

Y310-120000

RING-WEAR

2шт.

K17

Y440-120000

RING-DUST

2шт.

K18

S632-060004

O-RING

1шт.

K19

S642-060003

RING-BACK UP

2шт.

20

31YC-64030

NUT-LOCK

1шт.

21

S114-080144

SCREW-SET

1шт.

22

S109-160804

BOLT-SOCKET

12шт.

23

31YC-11115

BUSHING-PIN

1шт.

24

31YC-11245

BUSH-PIN

1шт.

25

Y000-080200

SEAL-DUST

4шт.

26

31Y1-22145

BAND ASSY

1шт.

26-1

31Y1-22155

BAND SUB ASSY

1шт.

26-2

31YC-32310

BAND

1шт.

26-3

S071-022730

U-BOLT

2шт.

26-4

S011-100352

BOLT-HEX

4шт.

26-5

S201-101002

NUT-HEX

4шт.

26-6

S411-100002

WASHER-SPRING

8шт.

27

31Y1-22165

PIPE ASSY-R/LH

1шт.

27

31Y1-22175

PIPE ASSY-R/RH

1шт.

28

31Y1-22180

PIPE ASSY-B/LH

1шт.

28

31Y1-22190

PIPE ASSY-B/RH

1шт.

K29

Y171-019004

O-RING

2шт.

30

S107-100454

BOLT-SOCKET HEAD

8шт.

K

31Y1-15885

SEAL KIT

SEE ILLUST

1шт.

Выбрано товаров: 42