Качественные детали и логистика
Оригинальные и аналоговые запчасти с доставкой по России, Казахстану и Беларуси
©2022 PartSell ООО "Система" ИНН 2463123282 ОГРН 1212400004838
Центральный офис: г. Красноярск, Академика Киренского, д.87, пом.4
Телефон: 8 (800) 777-65-74 Email: zakaz@partsell.ru
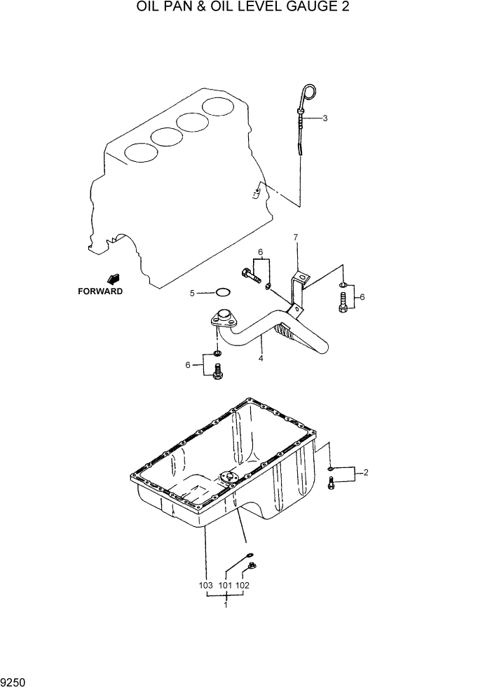
PAGE 9250 OIL PAN & OIL LEVEL GAUGE 2
№
Артикул
Название
Примечание
Количество
1
32A13-00050
PAN ASSY-OIL
1шт.
101
F4202-14000
GASKET
102
30613-606
PLUG-DRAIN
N103
@
PAN-OIL
NOT
2
F1805-08016
BOLT-W/WASHER
24шт.
3
32A42-05100
GAGE-OIL LEVER
4
32A35-06300
STRAINER-OIL
5
F3150-02000
O-RING
6
4шт.
7
32B35-06200
STAY-OIL STRAINER
N
NOT INDIVIDUALLY SUPPLIED
ARшт.
Выбрано товаров: 0