Запчасти Hyundai R95W3 PAGE 9380 FUEL SYSTEM 2 ДВИГАТЕЛЬ БАЗА

Схема запчастей Hyundai R95W3 - PAGE 9380 FUEL SYSTEM 2 ДВИГАТЕЛЬ БАЗА
FIT
1:1
100%

Артикул

Название

Примечание

Количество

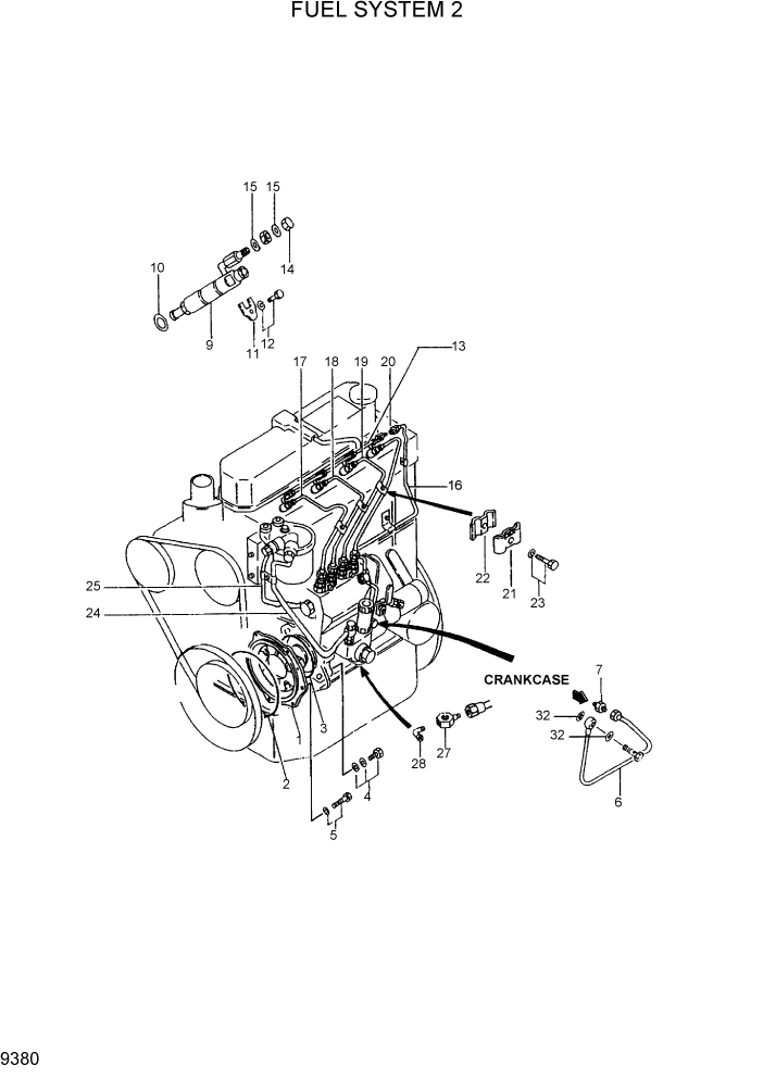
1

32A61-01301

FLANGE-INJ PUMP

1шт.

2

6016-1314

O-RING

1шт.

3

6016-13075

O-RING-INJ PUMP

1шт.

4

F2015-10035

BOLT-W/WASHER

4шт.

5

F1805-08020

BOLT-W/WASHER

1шт.

6

32A36-30100

PIPE-OIL

1шт.

7

F4440-06300

CONNECTOR

1шт.

9

32A61-07020

NOZZLE ASSY

4шт.

10

MM432045

GASKET-NOZZLE

4шт.

11

MM43713701

SUPPORT-NOZZLE

4шт.

12

F1805-08030

BOLT-W/WASHER

4шт.

13

32A61-24502

PIPE-FUEL LEAK OFF

1шт.

14

F2460-06000

NUT-CAP

4шт.

15

5946-00601

WASHER-SEALING

8шт.

16

32A61-14500

PIPE-FUEL RETURN

1шт.

17

32A61-05101

PIPE-INJ NO.1

1шт.

18

32A61-05201

PIPE-INJ NO.2

1шт.

19

32A61-05301

PIPE-INJ NO.3

1шт.

20

32A61-05401

PIPE-INJ NO.4

1шт.

21

MM430703

CLAMP

3шт.

22

MM430614

CLAMP

3шт.

23

F1805-06025

BOLT-W/WASHER

3шт.

24

32A61-14300

PIPE-FUEL

1шт.

25

32A61-14400

PIPE-FUEL

1шт.

27

30661-45403

JOINT-EYE

1шт.

28

F4656-06000

ELBOW

1шт.

32

5946-01001

WASHER-SEALING

2шт.

Выбрано товаров: 27