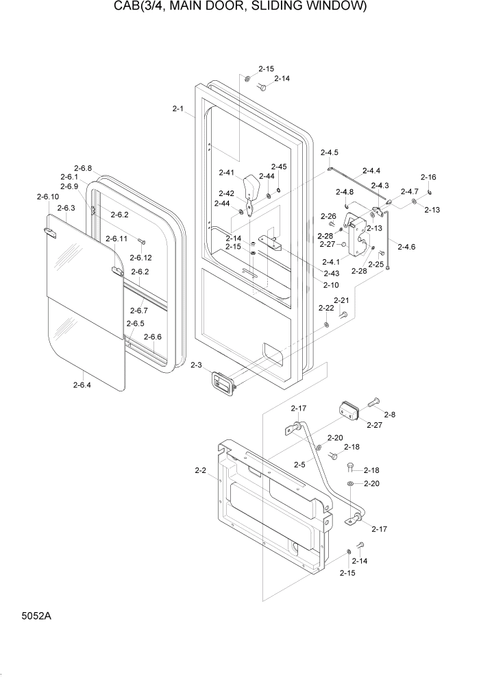
Запчасти Hyundai HL740-3ATM PAGE 5052A CAB(3/4, MAIN DOOR, SLIDING WINDOW) СТРУКТУРА

Схема запчастей Hyundai HL740-3ATM - PAGE 5052A CAB(3/4, MAIN DOOR, SLIDING WINDOW) СТРУКТУРА
FIT
1:1
100%

Артикул

Название

Примечание

Количество

*

@

CAB ASSY

NOT

1шт.

*-1

@

CAB SUB ASSY

NOT

1шт.

2

71L7-02702

MAIN DOOR ASSY

1шт.

2-1

71L7-00919

MAIN DOOR WA

1шт.

2-2

71L7-00924

COVER ASSY

1шт.

2-3

71L7-02660

HANDLE ASSY

1шт.

2-4

71L7-00943

LATCH ASSY

1шт.

2-4-1

71L7-01221

LATCH ASSY

1шт.

2-4-2

71L7-01150

HANDLE ASSY-INNER

1шт.

2-41

71L7-01160

KNOB

1шт.

2-42

71L7-01170

PLATE

1шт.

2-43

71L7-01180

PLATE WA

1шт.

2-44

S401-102002

WASHER-PLAIN

2шт.

2-45

S601-010001

RING-RETAINING

1шт.

2-4-3

71L7-01191

PLATE WA

1шт.

2-4-4

71L7-03310

ROD WA

1шт.

2-4-5

71L7-01210

ROD CLIP

2шт.

2-4-6

71L7-03320

ROD WA

1шт.

2-4-7

71L7-02890

PIN-ROD

2шт.

2-4-8

71L7-02900

RING-SNAP

4шт.

2-5

71L7-00961

HANDRAIL

1шт.

2-6

71L7-02720

SLIDING WINDOW ASSY

1шт.

2-6-1

71L7-02740

SASH-A TYPE

1шт.

2-6-2

71L7-03020

SASH-B TYPE

4шт.

2-6-3

71L7-02770

GLASS-OUT

8шт.

2-6-4

71L7-02790

GLASS-IN

1шт.

2-6-5

71L7-03050

STOPPER-GLASS

1шт.

2-6-6

E171-1163

SEAL

4шт.

2-6-7

E171-1164

SEAL

2шт.

2-6-8

E171-1167

SEAL

18шт.

2-6-9

71L1-3328

BLOCK

18шт.

2-6-10

71L1-3332

LOCK-LH

1шт.

2-6-11

71L1-3353

LOCK-RH

1шт.

2-6-12

S141-030082

SCREW

12шт.

2-7

E171-1176

ASHTRAY

1шт.

2-8

S141-040166

SCREW

2шт.

2-1

S771-045320

WEATHER STRIP

1шт.

2-13

S403-102006

WASHER-PLAIN

2шт.

2-14

S175-050166

BOLT-HEX,RD HD

10шт.

2-15

S401-052006

WASHER-PLAIN

10шт.

2-16

71L7-02910

SNAP RING-E TYPE

1шт.

2-17

71L7-02080

GROMMET

2шт.

2-18

S015-080206

BOLT-HEX

3шт.

2-2

S403-082006

WASHER-PLAIN

3шт.

2-21

S015-050206

BOLT-HEX

4шт.

2-22

S401-052006

WASHER-PLAIN

4шт.

2-25

S175-060306

BOLT-HEX,RD HD

3шт.

2-26

S175-060206

BOLT-HEX,RD HD

1шт.

2-27

S205-062006

NUT-HEX

3шт.

2-28

S401-062006

WASHER-PLAIN

4шт.

Выбрано товаров: 50