Запчасти Hyundai HL740-3ATM PAGE 4045 REAR BOARD ELECTRIC ЭЛЕКТРИЧЕСКАЯ СИСТЕМА

Схема запчастей Hyundai HL740-3ATM - PAGE 4045 REAR BOARD ELECTRIC ЭЛЕКТРИЧЕСКАЯ СИСТЕМА
FIT
1:1
100%

Артикул

Название

Примечание

Количество

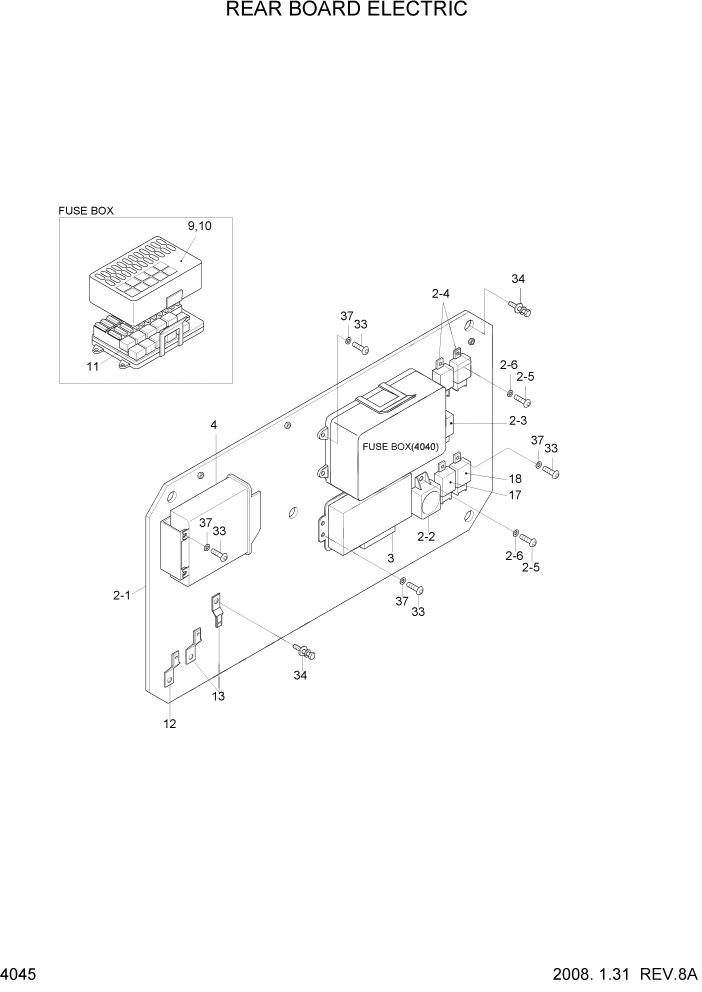
2

21L7-13250

REAR BOARD ASSY

1шт.

2-1

21L7-13150

REAR BOARD WA

1шт.

2-2

21E4-2025

BUZZER-WARNING

1шт.

2-3

21EA-60700

FLASHER UNIT ASSY

1шт.

2-4

21E4-0011

RELAY-4P

2шт.

2-5

S175-050166

SCREW-SOCKET RD HD

4шт.

2-6

S401-052006

WASHER-PLAIN

4шт.

3

24L3-10022

CHECK UNIT

1шт.

4

21L7-13180

CONTROL UNIT

1шт.

9

21L6-20162

DECAL-FUSE BOX

ENGLISH

1шт.

10

21L6-20172

DECAL-FUSE BOX

KOREAN

1шт.

11

24L1-05100

RELAY

9шт.

12

21E7-0612

PLATE-CONNECTOR

1шт.

13

21E7-0606

PLATE-CONNECTOR

2шт.

33

S175-050166

SCREW-SOCKET RD HD

17шт.

R17

21E4-0011

RELAY-4P

RIDE CONTROL

1шт.

18

E125-2545

RELAY-5P

EMER STEER PUMP

1шт.

33

S175-050166

SCREW-SOCKET RD HD

17шт.

34

S037-102022

BOLT-W/WASHER

8шт.

37

S401-052006

WASHER-PLAIN

17шт.

Выбрано товаров: 20