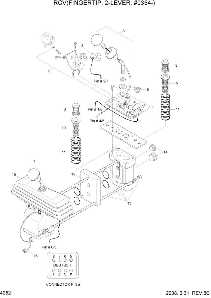
Запчасти Hyundai HL730-7 PAGE 4052 REMOTE CONTROL LEVER(2/2, 3-SPOOL) ГИДРАВЛИЧЕСКИЕ КОМПОНЕНТЫ

Схема запчастей Hyundai HL730-7 - PAGE 4052 REMOTE CONTROL LEVER(2/2, 3-SPOOL) ГИДРАВЛИЧЕСКИЕ КОМПОНЕНТЫ
FIT
1:1
100%

Артикул

Название

Примечание

Количество

*

@

REMOTE CONTROL VALVE

NOT

1шт.

29

ZUAH-00154

REMOTE CONTROL VALVE

1шт.

17

ZUAH-00019

SPRING-CMPR HELICAL

2шт.

21

ZUAH-00155

LEVER & BOOT ASSY

1шт.

21-1

ZUAH-00156

CONTROL HANDLE

1шт.

21-2

ZUAH-00157

HANDLE

1шт.

21-3

ZUAH-00158

PRSV BOOT

1шт.

21-4

ZUAH-00147

LOCKNUT

1шт.

22

ZUAH-00159

PIVOT ASSY

1шт.

22-1

ZUAH-00160

NUT

2шт.

22-2

ZUAH-00161

STUD

2шт.

N22-3

@

PIVOT PALTE

NOT

1шт.

N22-4

@

PIVOT PIN

NOT

1шт.

N22-5

@

SCREW

NOT

2шт.

22-6

ZUAH-00162

RETAINING RING

2шт.

N22-7

@

PIVOT MOUNTING PLATE

NOT

1шт.

K23

ZUAH-00163

SPINDLE KIT

2шт.

24

ZUAH-00164

CAPSCREW

4шт.

25

ZUAH-00165

KIT-SPRING

2шт.

31

ZUAH-00166

CAPSCREW

2шт.

N42

@

PLATE-RETAINING

NOT

1шт.

N43

@

PLATE-MOUNTING

NOT

1шт.

N44

@

SPACER

NOT

1шт.

N45

@

BODY KIT

NOT

1шт.

28

ZUAH-00167

ADAPTOR

1шт.

K26

ZUAH-00168

O-RING

2шт.

K27

ZUAH-00169

SEAL-O-RING

2шт.

30

ZUAH-00170

BOLT

3шт.

N46

ZUAH-00171

SPACER

NOT

2шт.

K

ZUAH-00151

SEAL KIT(12,23,26,27)

SEE 4051

1шт.

N

@

AR

NOT

Выбрано товаров: 31