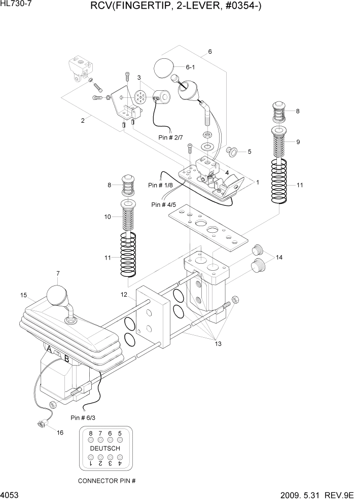
Запчасти Hyundai HL730-7 PAGE 4053 RCV(FINGERTIP, 2-LEVER, #0354-) ГИДРАВЛИЧЕСКИЕ КОМПОНЕНТЫ

Схема запчастей Hyundai HL730-7 - PAGE 4053 RCV(FINGERTIP, 2-LEVER, #0354-) ГИДРАВЛИЧЕСКИЕ КОМПОНЕНТЫ
FIT
1:1
100%

Артикул

Название

Примечание

Количество

*

31LF-10200

RCV-2LEVER

#0354

1шт.

N1

YUCT-00002

PLATE-MOUNTING

NOT

2шт.

2

YUCT-00003

BRACKET KIT-MAGNET

3шт.

3

YUCT-00005

MAGNET

3шт.

4

YUCT-00004

BEARING PLATE

2шт.

5

YUCT-00006

ANCHOR PLATE(I/HOLE 8)

STD DETENT

3шт.

5

YUCT-00038

ANCHOR PLATE(I/HOLE 10)

LIGHT DETENT

3шт.

6

YUCT-00008

HANDLE B5

#0354

1шт.

6-1

YUCT-00046

COVER-BOOT

#0354

1шт.

7

YUCT-00007

HANDLE KIT

#0354

1шт.

8

YUCT-00009

PUSH PIN

4шт.

9

YUCT-00013

SPRING PACK

3шт.

10

YUCT-00014

SPRING PACK

1шт.

11

YUCT-00015

RETURN SPRING

4шт.

12

YUCT-00016

SPACEBLOCK

1шт.

13

YUCT-00017

ROD KIT-TIE

1шт.

14

YUCT-00018

PLUG KIT

1шт.

N15

YUCT-00019

BOOT KIT

NOT

1шт.

N16

YUCT-00020

CONNECTOR KIT

NOT

1шт.

Выбрано товаров: 19