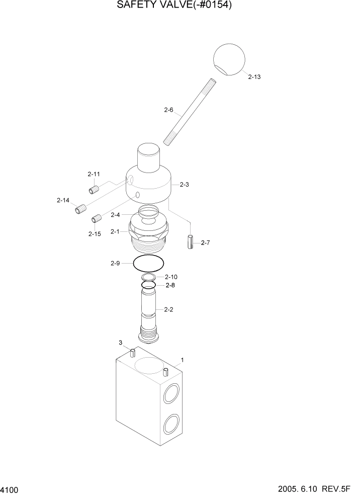
Запчасти Hyundai HL730-7 PAGE 4100 SAFETY VALVE(-#0154) ГИДРАВЛИЧЕСКИЕ КОМПОНЕНТЫ

Схема запчастей Hyundai HL730-7 - PAGE 4100 SAFETY VALVE(-#0154) ГИДРАВЛИЧЕСКИЕ КОМПОНЕНТЫ
FIT
1:1
100%

Артикул

Название

Примечание

Количество

*

31L7-10010

SAFETY VALVE

SEE 3150 ITEM 3 #0154

1шт.

1

ZUAN-00001

BODY

AXP14944

1шт.

2

ZUAN-00002

LEVER ADJUSTER

BXP8718-05

1шт.

2-1

ZUAN-00003

RETAINER

AXP8729

1шт.

2-2

ZUAN-00004

ADJUST STEM

AXP8730

1шт.

2-3

ZUAN-00005

HOUSING

BPX15090

1шт.

2-4

ZUAN-00006

RING-CLUTCH

APX3824

1шт.

2-6

ZUAN-00007

HANDLE

APX15091

1шт.

2-7

ZUAN-00008

PIN-SPRING

77M03016

2шт.

2-8

ZUAN-00009

O-RING

61131105

1шт.

2-9

ZUAN-00010

O-RING

61134117

1шт.

2-1

ZUAN-00011

RING-BACK UP

62142010

1шт.

2-11

ZUAN-00012

SCREW

72M05010-01

1шт.

2-13

ZUAN-00013

KNOB-RED

B3303-01

1шт.

2-14

ZUAN-00014

SET SCREW-SOCKET

72M06010-01

1шт.

2-15

ZUAN-00012

SCREW

72M05010-01

1шт.

3

ZUAN-00015

PIN-SPRING

7703013

1шт.

Выбрано товаров: 17