Запчасти Hyundai HL740-7 PAGE 5180 MUD GUARD(SQUARE COWL TYPE) СТРУКТУРА

Схема запчастей Hyundai HL740-7 - PAGE 5180 MUD GUARD(SQUARE COWL TYPE) СТРУКТУРА
FIT
1:1
100%

Артикул

Название

Примечание

Количество

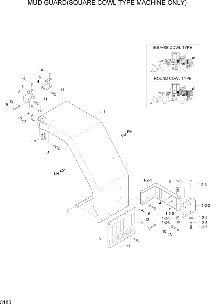
1

71LF-80150

MUD GUARD ASSY-LH

1шт.

1

71LF-80160

MUD GUARD ASSY-RH

1шт.

1-1

71LF-80210

MUD GUARD WA-LH

1шт.

1-1

71LF-80220

MUD GUARD WA-RH

1шт.

1-2

71LF-80310

HINGE ASSY-LH

1шт.

1-2

71LF-80320

HINGE ASSY-RH

1шт.

1-2-1

71LF-80330

FRONT HINGE WA

1шт.

1-2-2

71LF-80340

REAR HINGE WA

1шт.

1-2-3

71LD-80270

PIN-HINGE

1шт.

1-2-4

71LD-80280

PLATE-STOPPER

1шт.

1-2-5

71LD-80290

BUSHING

2шт.

1-2-6

S017-120302

BOLT-HEX

1шт.

1-2-7

S441-120002

WASHER-HARDENED

1шт.

1-2-8

S403-301002

WASHER-PLAIN

2шт.

1-2-9

S651-810002

NIPPLE-GREASE

1шт.

1-3

S491-140402

PIN-CLEVIS

1шт.

1-4

S501-140002

PIN-SELF LOCKING

1шт.

1-5

S017-160402

BOLT-HEX

6шт.

1-6

S441-160002

WASHER-HARDENED

6шт.

1-7

71LF-80290

LATCH ASSY

1шт.

1-7

71LF-80300

LATCH ASSY

1шт.

3

71LB-80220

PLATE

2шт.

4

71LB-80230

PLATE

2шт.

5

71LB-80240

PLATE

4шт.

6

74L3-20331

RUBBER

2шт.

7

71LD-80170

PLATE-TAPPED

2шт.

8

71LD-80180

STRIKER

2шт.

9

71EH-13150

RUBBER-BUMPER

4шт.

10

S017-160402

BOLT-HEX

8шт.

11

S037-122552

BOLT-W/WASHER

16шт.

12

S285-101002

NUT-FLANGED

6шт.

13

S441-160002

WASHER-HARDENED

10шт.

14

S141-060152

SCREW-FLAT HD

8шт.

15

S275-160002

NUT-SELF LOCKING

2шт.

Выбрано товаров: 34