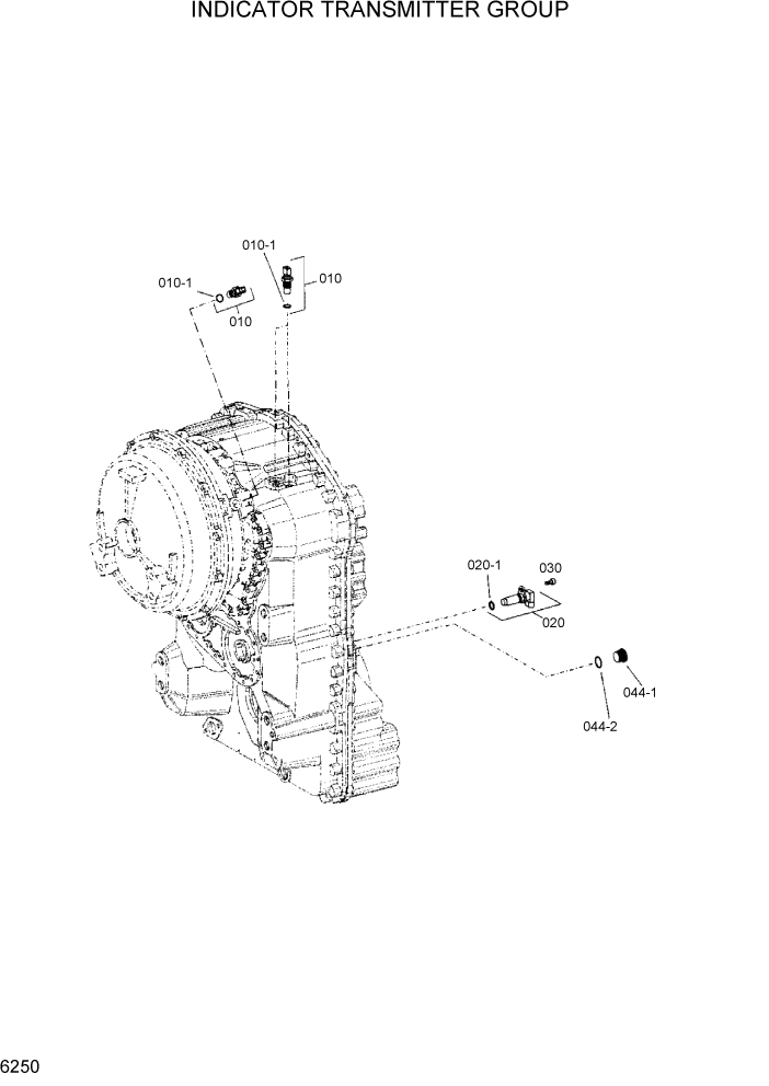
Запчасти Hyundai HL740TM-7 PAGE 6250 INDICATOR TRANSMITTER GROUP СИЛОВАЯ СИСТЕМА

Схема запчастей Hyundai HL740TM-7 - PAGE 6250 INDICATOR TRANSMITTER GROUP СИЛОВАЯ СИСТЕМА
FIT
1:1
100%

Артикул

Название

Примечание

Количество

*

ZGAQ-01465

IND TRANSMITTER

1шт.

10

ZGAQ-00651

IND TRANSMITTER

3шт.

10-1

ZGAQ-01466

O-RING

3шт.

20

ZGAQ-00653

TRANSMITTER-SPEED

1шт.

20-1

ZGAQ-00654

O-RING

1шт.

30

ZGAQ-00922

SCREW-CAP

1шт.

44-1

ZGAQ-00908

PLUG-SCREW

1шт.

44-2

ZGAQ-00909

O-RING

1шт.

Выбрано товаров: 0