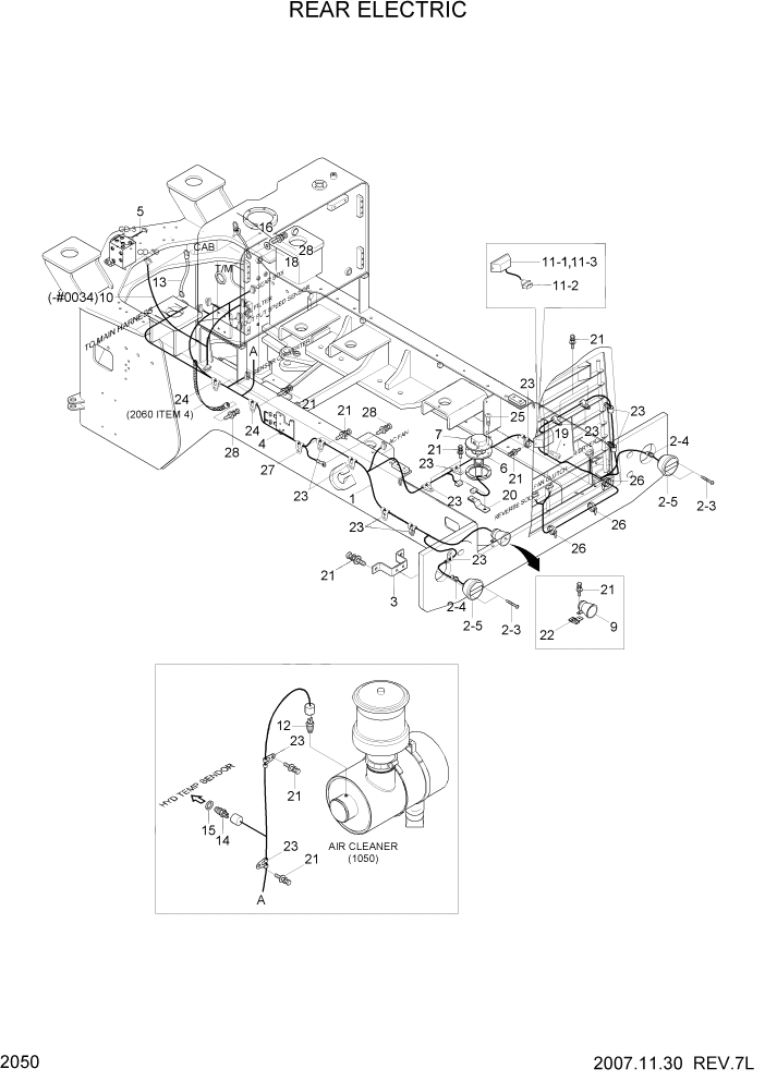
Запчасти Hyundai HL740TM-7A PAGE 2050 REAR ELECTRIC ЭЛЕКТРИЧЕСКАЯ СИСТЕМА

Схема запчастей Hyundai HL740TM-7A - PAGE 2050 REAR ELECTRIC ЭЛЕКТРИЧЕСКАЯ СИСТЕМА
FIT
1:1
100%

Артикул

Название

Примечание

Количество

1

21LF-30031

HARNESS-FRAME

1шт.

2

21EK-10410

LAMP-T/STOP FLASHER

#0019

2шт.

2

21EK-10411

LAMP-TAIL STOP FLASHER

#0020

2шт.

2-1

21EK-10290

BULB

NOT SHOWN

2шт.

2-2

21EK-10270

BULB(5W)

NOT SHOWN

1шт.

2-3

21LB-51550

SCREW

#0020

2шт.

2-4

21EK-20200

HARNESS-REAR COMBI

#0001

1шт.

2-5

21EK-10180

LAMP-TAIL STOP FLASHER

#0001

1шт.

3

21LF-20181

PLATE-LAMP

2шт.

4

21LF-20070

PLATE

1шт.

5

21LD-30070

HARNESS-EXT

1шт.

6

E128-1053

GASKET

1шт.

7

21LF-00180

FUEL SENDOR

1шт.

9

21N6-20322

BUZZER-TRAVEL ALARM

1шт.

E10

21LF-30090

HARNESS-E/STEERING

SEE 3130 #0034

1шт.

11

21LB-34250

LAMP SUB ASSY(N/PLATE)

1шт.

11-1

21EK-10160

LAMP-NUMBER PLATE

1шт.

11-2

21LB-34260

HARNESS-EXT(N/LAMP)

1шт.

11-3

21EK-10260

BULB

1шт.

12

21L7-20100

SWITCH-AIR CLEANER

1шт.

13

21EH-30720

STRAP-EARTH

1шт.

14

21EN-40100

SENDER-TEMP

1шт.

15

21EA-50260

PACKING-TEMP SW

1шт.

16

21L8-30720

STRAP-EARTH

1шт.

18

S431-100002

WASHER-INTERNAL T/LOCK

3шт.

19

S151-040156

SCREW-TAPPING

2шт.

20

21E7-0606

PLATE-CONNECTOR

1шт.

21

S037-102056

BOLT-W/WASHER

22шт.

22

25D1-10640

CLIP ASSY

1шт.

23

S593-000902

CLIP-HARNESS

17шт.

24

31L7-10200

CLAMP

2шт.

25

S161-050106

SCREW-CROSS R/ROUND

5шт.

26

S552-035146

CLAMP-BAND

3шт.

27

31L7-10190

CLAMP-TUBE

1шт.

28

S037-102022

BOLT-W/WASHER

4шт.

Выбрано товаров: 35