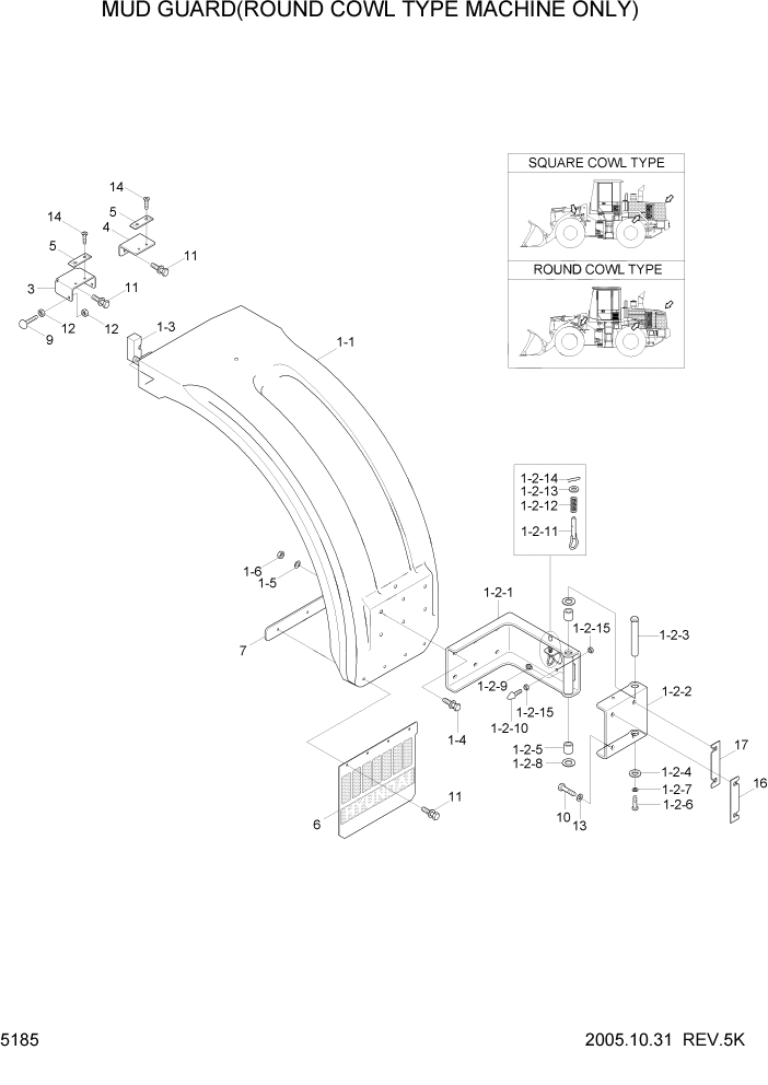
Запчасти Hyundai HL760-7 PAGE 5185 MUD GUARD(ROUND COWL TYPE) СТРУКТУРА

Схема запчастей Hyundai HL760-7 - PAGE 5185 MUD GUARD(ROUND COWL TYPE) СТРУКТУРА
FIT
1:1
100%

Артикул

Название

Примечание

Количество

*

@

MUD GUARD

NOT #0226

1шт.

1

71LC-82012

MUD GUARD ASSY-LH

1шт.

1

71LC-82022

MUD GUARD ASSY-RH

1шт.

1-1

71LC-82051

MUD GUARD WA-LH

1шт.

1-1

71LC-82061

MUD GUARD WA-RH

1шт.

1-2

71LC-82090

HINGE ASSY-LH

1шт.

1-2

71LC-82100

HINGE ASSY-RH

1шт.

1-2-1

71LC-82111

FRONT HINGE WA

1шт.

1-2-2

71LC-82120

REAR HINGE WA

1шт.

1-2-3

71LD-80270

PIN-HINGE

1шт.

1-2-4

71LD-80280

PLATE-STOPPER

1шт.

1-2-5

71LD-80290

BUSHING

2шт.

1-2-6

S017-120302

BOLT-HEX

1шт.

1-2-7

S441-120002

WASHER-HARDENED

1шт.

1-2-8

S403-301002

WASHER-PLAIN

2шт.

1-2-9

S651-810002

NIPPLE-GREASE

1шт.

1-2-10

E171-1178

RUBBER-BUMPER

1шт.

1-2-11

FBC0900600

LOCK PIN

1шт.

1-2-12

FBC0900610-01

SPRING

1шт.

1-2-13

S403-122002

WASHER-PLAIN

1шт.

1-2-14

S461-250252

PIN-SPLIT

1шт.

1-2-15

S285-101002

NUT-FLANGED

2шт.

1-3

71LF-80290

LATCH ASSY

1шт.

1-3

71LF-80300

LATCH ASSY

1шт.

1-4

S037-123556

BOLT-W/WASHER

6шт.

1-5

S205-121006

NUT-HEX

6шт.

1-6

S441-120006

WASHER-HARDENED

6шт.

3

71LB-80220

PLATE

2шт.

4

71LB-80230

PLATE

2шт.

5

71LB-80240

PLATE

4шт.

6

71LC-80330

RUBBER-MUD GUARD

#0724

2шт.

6

71LC-82160

RUBBER-MUD GUARD

#0725

2шт.

7

71LC-82150

PLATE

2шт.

9

71EH-13150

RUBBER-BUMPER

4шт.

10

S017-160402

BOLT-HEX

8шт.

11

S037-122552

BOLT-W/WASHER

16шт.

12

S285-101002

NUT-FLANGED

4шт.

13

S441-160002

WASHER-HARDENED

8шт.

14

S141-060152

SCREW-FLAT HD

8шт.

16

71LB-82070

SHIM

4шт.

17

71LB-82080

SHIM

8шт.

Выбрано товаров: 0