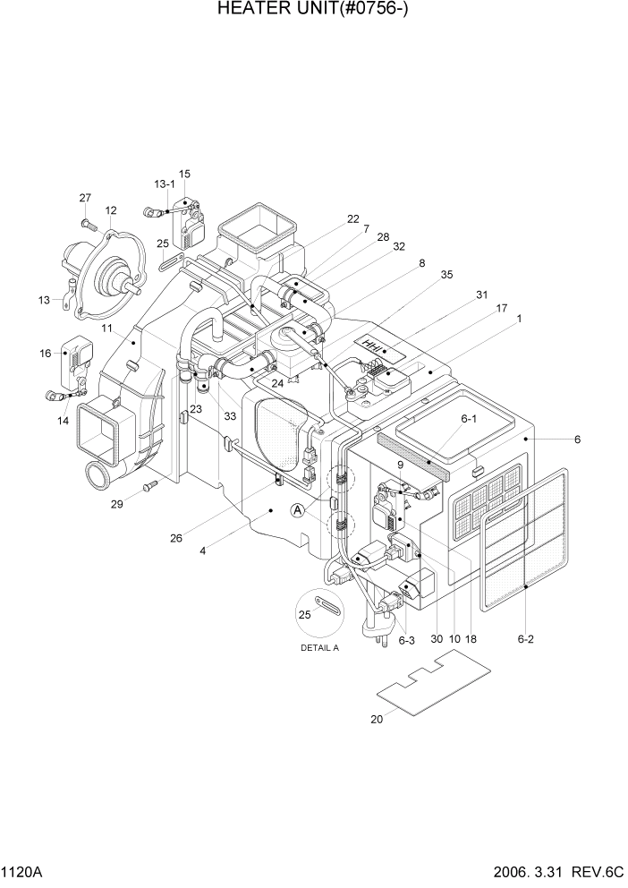
Запчасти Hyundai HL760-7 PAGE 1120A HEATER UNIT(#0756-) СИСТЕМА ДВИГАТЕЛЯ

Схема запчастей Hyundai HL760-7 - PAGE 1120A HEATER UNIT(#0756-) СИСТЕМА ДВИГАТЕЛЯ
FIT
1:1
100%

Артикул

Название

Примечание

Количество

*

11LB-90151

HEATER UNIT

#0756

1шт.

3

AH000086

HVAC CASE UPP ASSY

1шт.

4

AM12101400-0

HVAC CASE-LOW

1шт.

6

AH000983

INTAKE CASE ASSY

1шт.

6-1

AM70003600-3

SEAL-FILTER,FRESH

1шт.

6-2

11N6-90770

AIR FILTER-RE

1шт.

6-3

11N6-90820

RELAY

2шт.

7

11N6-90780

HEATER CORE

1шт.

8

AH001160

WATER VLAVE

1шт.

9

AM52300100-4

ROD-INTAKE

1шт.

10

11N6-90750

RESISTOR ASSY

1шт.

11

AH001187

BLOWER CASE ASSY

1шт.

12

11N6-90700

FAN & MOTOR

1шт.

12-1

AW22000800-2

FAN

NOT SHOWN

1шт.

12-2

AW21002500-1

MOTOR

NOT SHOWN

1шт.

13

A710051601-3

HOSE-DRAIN

1шт.

13-1

AW70002300-4

ROD-VENT

1шт.

14

AW70002400-4

ROD-DEF/FOOT

1шт.

15

AH100108

MOTOR ACT-REAR

1шт.

16

AH100109

MOTOR ACT-FRONT

1шт.

17

AH100311

MOTOR ACT-TEMP

1шт.

18

11N6-90740

MOTOR ACT-INTAKE

1шт.

20

A112050700-3

PLATE-SIDE

1шт.

22

AH100110

WIRING ASSY

1шт.

23

AH000314

H/RAD PIPE CLAMP

1шт.

24

AH001287

HOSE,INLET-WATER

1шт.

25

4AH-0643

HOLDER-WIRE

6шт.

26

4AH-0688

CLIP-CASE

9шт.

27

AH000866

SCREW

3шт.

28

AM27000201-3

CLAMP-WATER HOSE

1шт.

29

K500531

SCREW

28шт.

30

K500533

SCREW

2шт.

31

AM99001201Z3

NAME PLATE

1шт.

32

AH001288

HOSE,OUTLET-WATER

1шт.

33

AH001415

HEATER PIPE-INLET

1шт.

35

AH000856

ROD-TEMP

1шт.

Выбрано товаров: 0