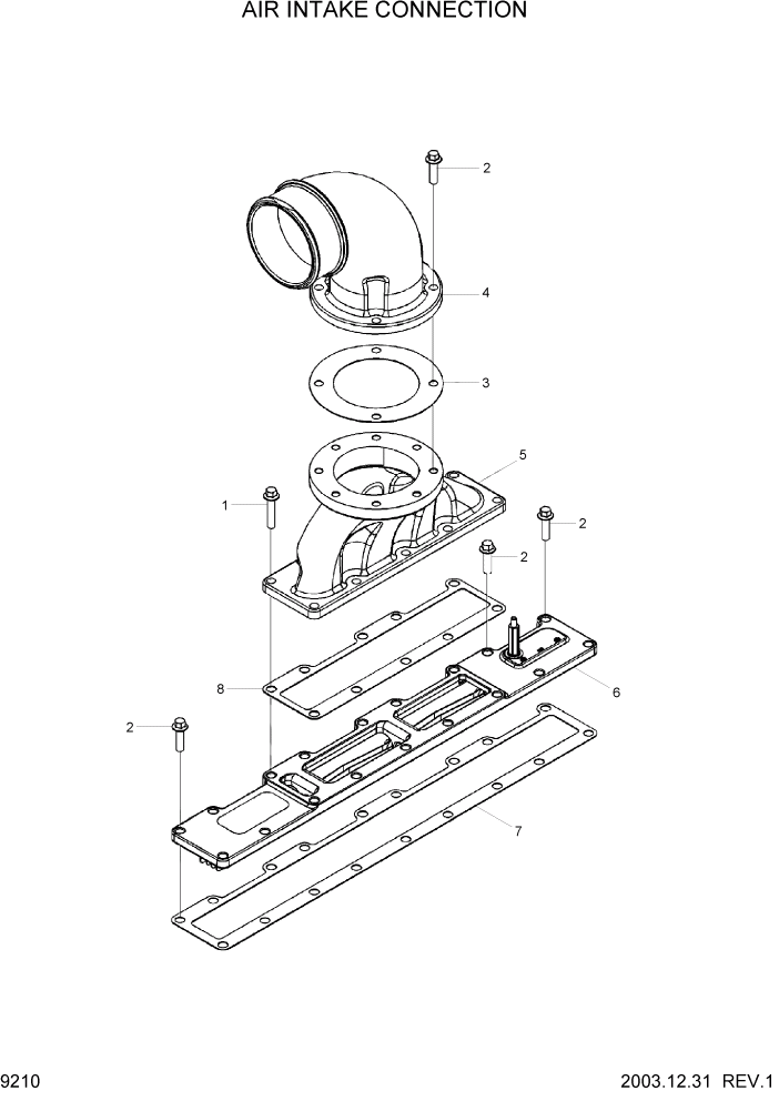
Запчасти Hyundai HL770-7 PAGE 9210 AIR INTAKE CONNECTION ДВИГАТЕЛЬ БАЗА

Схема запчастей Hyundai HL770-7 - PAGE 9210 AIR INTAKE CONNECTION ДВИГАТЕЛЬ БАЗА
FIT
1:1
100%

Артикул

Название

Примечание

Количество

1

3900678

SCREW-HEX HEAD CAP

IC9868

10шт.

2

3902114

SCREW-HEX HEAD CAP

7шт.

3

3917892

GASKET-CONNECTION

1шт.

4

3928519

CONNECTION-AIR INTAKE

1шт.

5

3943613

CONNECTION-AIR INTAKE

1шт.

6

3944222

HEATER-INTAKE AIR

1шт.

7

3944646

GASKET-INT M/COVER

1шт.

8

3992090

GASKET-CONNECTION

#0001

1шт.

Выбрано товаров: 8