Запчасти Hyundai HL730TM-9 PAGE 2030 CAB ELECTRIC 4 ЭЛЕКТРИЧЕСКАЯ СИСТЕМА

Схема запчастей Hyundai HL730TM-9 - PAGE 2030 CAB ELECTRIC 4 ЭЛЕКТРИЧЕСКАЯ СИСТЕМА
FIT
1:1
100%

Артикул

Название

Примечание

Количество

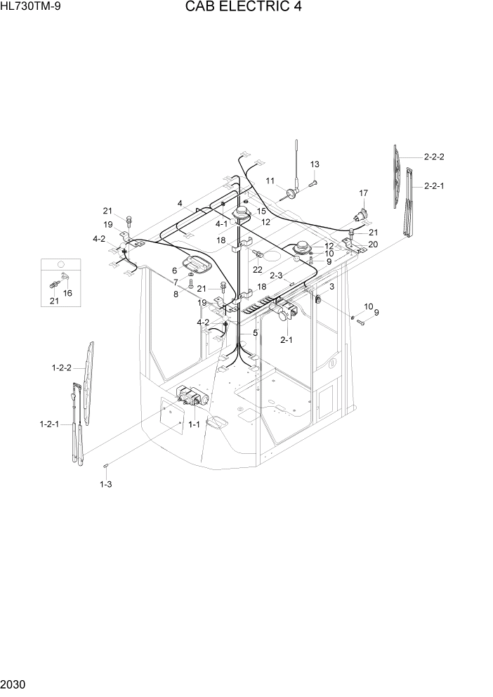
1

21LN-37000

FRONT WIPER KIT ASSY

1шт.

1-1

21LN-37010

WIPER MOTOR ASSY

1шт.

1-2

21LM-37020

WIPER ARM&BLADE ASSY

1шт.

1-2-1

21LM-37050

WIPER ARM ASSY

1шт.

1-2-2

21LM-37060

WIPER BLADE ASSY

1шт.

1-3

24L3-41500

VALVE-WIPER

1шт.

2

21LM-37100

RR WIPER MOTOR KIT ASSY

1шт.

2-1

21LM-37110

MOTOR-WIPER

1шт.

2-2

21LM-37120

WIPER ARM&BLADE ASSY

1шт.

2-2-1

24L3-41200

WIPER ARM-REAR

1шт.

2-2-2

21M8-50300

WIPER BLADE-REAR

1шт.

2-3

24L3-41500

VALVE-WIPER

1шт.

3

E123-3022

SWITCH-DOOR

1шт.

4

21LN-01072

HARNESS-CAB

1шт.

4-1

S880-132060

GROMMET

1шт.

4-2

S880-132040

GROMMET

2шт.

5

21LM-01091

HARNESS-AIRCON,HEATER

1шт.

6

21Q4-50101

LAMP-ROOM

1шт.

6-1

21E1-49690

BULB-ROOM LAMP

NOT SHOWN

1шт.

7

S411-050006

WASHER-SPRING

2шт.

8

S161-050166

SCREW-CROSS R/ROUND

2шт.

9

S161-040106

SCREW-CROSS R/ROUND

10шт.

10

S411-040006

WASHER-SPRING

10шт.

11

21N6-10410

ANTENNA

1шт.

12

21LB-20401

SPEAKER ASSY

2шт.

13

S151-040156

SCREW-TAPPING

2шт.

15

S661-260800

GROMMET

1шт.

16

S593-000902

CLIP-HARNESS

4шт.

17

21LM-01420

SOCKET-POWER

1шт.

18

21LN-06240

PLATE

2шт.

19

21LN-06222

PLATE

2шт.

20

21LN-06231

PLATE

2шт.

21

S037-102056

BOLT-W/WASHER

5шт.

22

S035-061526

BOLT-W/WASHER

2шт.

Выбрано товаров: 34