Запчасти Hyundai 42HDLL HYPER DAT(42HDLL/39HDRB)

Схема запчастей Hyundai 42HDLL - HYPER DAT(42HDLL/39HDRB)
FIT
1:1
100%

Артикул

Название

Примечание

Количество

*

20E6-90020

20E6-90020-Hyper Dat

1

21E6-90200

21E6-90200-Hyper Dat Kit

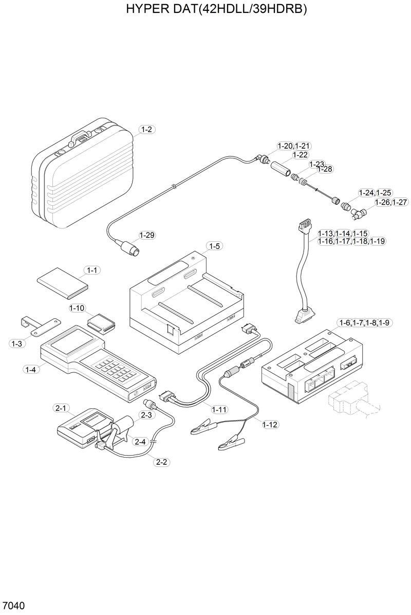
1-1

21E2-90030

21E2-90030-. User'S Guide(English)

1-10

21E2-90180

21E2-90180-. Rom Pack

1-11

21E2-90200

21E2-90200-. Main Cable

1-12

21E2-90210

21E2-90210-. Batt-Cigar Cable

1-13

21E2-90220

21E2-90220-. Controller Cable 1

1-14

21E2-90230

21E2-90230-. Controller Cable 2

1-15

21E2-90240

21E2-90240-. Controller Cable 3

1-16

21E2-90250

21E2-90250-. Controller Cable 4

1-17

21E2-90260

21E2-90260-. Controller Cable 5

1-18

21E2-90270

21E2-90270-. Controller Cable 6

1-19

21E2-90280

21E2-90280-. Controller Cable 7

1-2

21E2-90040

21E2-90040-. Case

1-20

21E2-90300

21E2-90300-. Pressure Transducer 1

1-21

21E2-90310

21E2-90310-. Pressure Transducer 2

1-22

21E2-90320

21E2-90320-. Transducer Adapter

1-23

21E2-90330

21E2-90330-. Screw Coupling 1

1-24

21E2-90340

21E2-90340-. Screw Coupling 2

1-25

21E2-90350

21E2-90350-. Screw Coupling 3

1-26

21E2-90360

21E2-90360-. T-Fitting 1

1-27

21E2-90370

21E2-90370-. T-Fitting 2

1-28

21E2-90380

21E2-90380-. Pressure Cable

1-29

21E2-90390

21E2-90390-. Transducer Cable

1-3

21E2-90050

21E2-90050-. Main Body Hanger

1-4

21E2-90110

21E2-90110-. Main Body

1-5

21E2-90120

21E2-90120-. Modular

1-6

21E2-90130

21E2-90130-. Signal Adapter 1

1-7

21E2-90140

21E2-90140-. Signal Adapter 2

1-8

21E2-90150

21E2-90150-. Signal Adapter 3

1-9

21E2-90160

21E2-90160-. Signal Adapter 4

2

21E6-90400

21E6-90400-Printer-Hyper Dat Kit

2-1

21E2-90400

21E2-90400-. Printer

2-2

21E2-90410

21E2-90410-. Printer Cable

2-3

21E2-90420

21E2-90420-. Paper-Printer

2-4

21E2-90430

21E2-90430-. Paper Hanger-Printer

Выбрано товаров: 36