Запчасти Hyundai 42HDLL CAB ELECTRIC 1(42HDLL/39HDRB)

Схема запчастей Hyundai 42HDLL - CAB ELECTRIC 1(42HDLL/39HDRB)
FIT
1:1
100%

Артикул

Название

Примечание

Количество

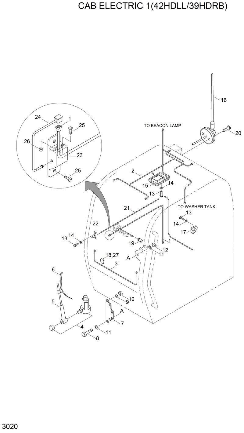
1

21EK-50010

21EK-50010-Harness(1)-Cab

10

S205-081006

S205-081006-Nut-Hex

11

S411-060006

S411-060006-Washer-Spring

12

S201-061006

S201-061006-Nut-Hex

13

S161-050166

S161-050166-Screw

14

S411-050006

S411-050006-Washer-Spring

15

21EH-0011

21EH-0011-Lamp-Room

16

21EM-30660

21EM-30660-Antenna

17

E123-3022

E123-3022-Switch-Door

18

E127-3133

E127-3133-Holder-Cable Tie

19

21E6-20290

21E6-20290-Grommet-Rubber

2

21E1-4998

21E1-4998-Harness-Cab

20

S152-040166

S152-040166-Screw-Tapping

21

21EM-10890

21EM-10890-Hose-Washer Tank

22

24L3-41090

24L3-41090-Nozzle

23

21EM-10870

21EM-10870-Plate

24

21EM-10880

21EM-10880-Cap

25

S141-040166

S141-040166-Screw-C/R,Flat Hd

26

S201-041006

S201-041006-Nut-Hex

27

S552-020102

S552-020102-Clamp-Band

3

21EH-1004

21EH-1004-Harness-Wiper Motor

4

21E7-3002

21E7-3002-Wiper Motor Assy

5

21EC-30050

21EC-30050-Arm-Wiper

6

21EC-30070

21EC-30070-Blade-Wiper

7

21EH-00130

21EH-00130-Bracket-Wiper Motor

8

S015-060166

S015-060166-Bolt-Hex

9

S411-080006

S411-080006-Washer-Spring

Выбрано товаров: 27