Запчасти Hyundai HSL810 RELAY BOARD ELECTRIC

Схема запчастей Hyundai HSL810 - RELAY BOARD ELECTRIC
FIT
1:1
100%

Артикул

Название

Примечание

Количество

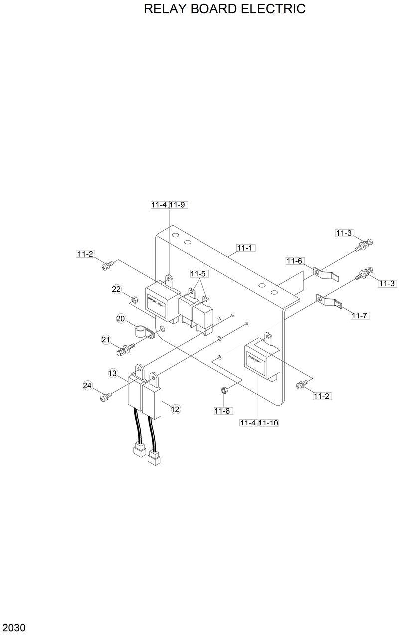
11

21S5-01130

21S5-01130-Relay Board Assy

11-1

21S5-01140

21S5-01140-. Plate-Relay Board

11-10

22S4-02140

22S4-02140-. Decal-Glow Relay

11-2

S132-062546

S132-062546-. Screw-W/Washer

11-3

S033-081626

S033-081626-. Bolt-W/Washer

11-4

21E3-0004

21E3-0004-. Relay-Start

11-5

21E3-0011

21E3-0011-. Relay-Light

11-6

08053-01512

08053-01512-. Clip

11-7

21E7-0606

21E7-0606-. Plate-Connector

11-8

S205-081002

S205-081002-. Nut-Hex

11-9

22S4-02150

22S4-02150-. Decal-Stop Sol.Relay

12

21S4-01190

21S4-01190-Timer-Air Heater

13

21S4-01200

21S4-01200-Timer-Stop Solenoid

20

S543-200002

S543-200002-Clamp-Tube

21

S033-081626

S033-081626-Bolt-W/Washer

22

S205-081002

S205-081002-Nut-Hex

24

S132-062546

S132-062546-Screw-W/Washer

Выбрано товаров: 17