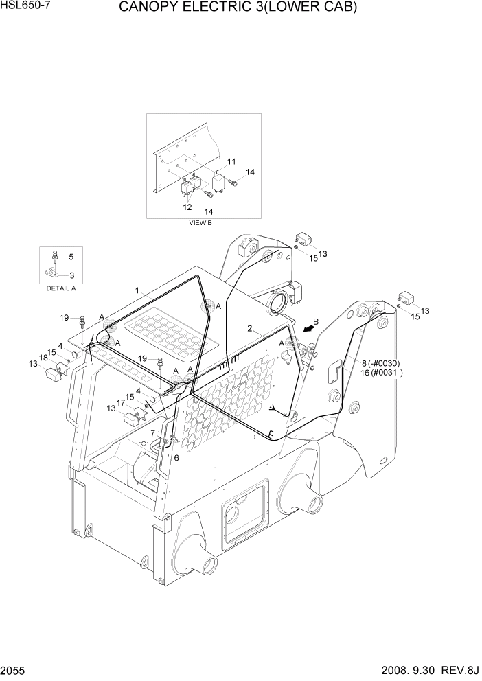
Запчасти Hyundai HSL650-7 PAGE 2055 CANOPY ELECTRIC 3(LOWER CAB) ЭЛЕКТРИЧЕСКАЯ СИСТЕМА

Схема запчастей Hyundai HSL650-7 - PAGE 2055 CANOPY ELECTRIC 3(LOWER CAB) ЭЛЕКТРИЧЕСКАЯ СИСТЕМА
FIT
1:1
100%

Артикул

Название

Примечание

Количество

*

@

CANOPY ELECTRIC-LOW

NOT #0014

1шт.

1

21S8-02220

HARNESS-MAIN(LOW CAB)

#0095

1шт.

1

21S8-02221

HARNESS-MAIN(LOW CAB)

#0096 - #0234

1шт.

1

21S8-02222

HARNESS-MAIN(LOW CAB)

#0235 - #0309

1шт.

1

21S8-02224

HARNESS-MAIN(LOW CAB)

#0310 - #0615

1шт.

1

21S8-02225

HARNESS-MAIN

#0616 - #0795

1шт.

1

21S8-02226

HARNESS-MAIN

#0796

1шт.

2

21S7-02440

HARNESS-AIRCON,HEATER

#0615

1шт.

2

21S7-02441

HARNESS-AIRCON,HEATER

#0616

1шт.

3

S593-000752

CLIP-HARNESS

6шт.

4

71S4-70100

CAP-RUBBER

2шт.

5

S035-081526

BOLT-W/WASHER

6шт.

6

S593-000902

CLIP-HARNESS

1шт.

7

S205-101002

NUT-HEX

1шт.

8

21S7-09050

HARNESS-TURN LAMP

#0030

1шт.

11

21M6-40052

FLASHER UNIT ASSY

1шт.

12

21E3-0011

RELAY

2шт.

13

21FH-77030

LAMP-TURN SIGNAL

4шт.

13-1

S861-072100

BULB-12V/21W

NOT SHOWN

1шт.

14

S131-051546

SCREW-W/WASHER

3шт.

15

S205-041002

NUT-HEX

4шт.

16

21S7-09051

HARNESS-TURN LAMP

#0031 - #0095

1шт.

16

21S7-09052

HARNESS-TURN LAMP

#0096

1шт.

17

21S7-04010

BRACKET-T/S LAMP,LH

TURNING LAMP #0031

1шт.

18

21S7-04020

BRACKET-T/S LAMP,RH

TURNING LAMP #0031

1шт.

19

S035-08151V

BOLT-W/WASHER

TURNING LAMP #0031

2шт.

Выбрано товаров: 26