Запчасти Hyundai HSL650-7A PAGE 6050 CAB & CANOPY 2 СТРУКТУРА

Схема запчастей Hyundai HSL650-7A - PAGE 6050 CAB & CANOPY 2 СТРУКТУРА
FIT
1:1
100%

Артикул

Название

Примечание

Количество

1

@

CAB ASSY

NOT

1шт.

1

@

CANOPY ASSY

NOT

1шт.

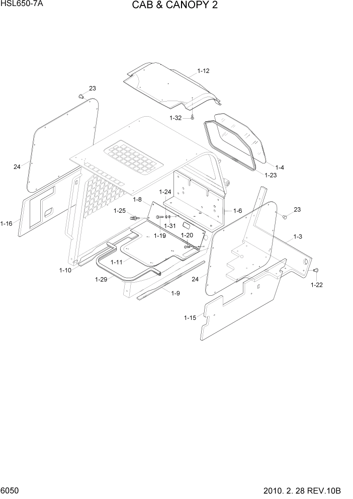
1-3

71S7-00201

INSULATION

1шт.

1-4

71S7-00250

GLASS-REAR

1шт.

1-6

71S8-10300

INSULATION

CAB

1шт.

1-6

71S7-00380

INSULATION-REAR

CANOPY

1шт.

1-8

71S8-10231

COVER WA

1шт.

1-9

71S8-10310

STRIP-LH

1шт.

1-1

71S7-00230

STRIP-RH

1шт.

1-11

71S7-00211

INSULATION

1шт.

1-12

71S7-00310

HEADLINING

1шт.

1-15

71S8-10290

INSULATOR-LH

1шт.

1-16

71S8-10280

INSULATOR-RH

1шт.

1-19

S017-080606

BOLT-HEX

1шт.

1-2

S161-050256

SCREW-CROSS R/ROUND

12шт.

1-22

71EM-51580

CAP-STUD BOLT

12шт.

1-23

S781-119702

SEAL-GLASS

1шт.

1-24

S411-080006

WASHER-SPRING

2шт.

1-25

S035-081526

BOLT-W/WASHER

8шт.

1-29

S771-012000

WEATHER STRIP

1шт.

1-31

S403-08000B

WASHER-PLAIN

2шт.

1-32

E171-1310

PLUG-HEADLINER

10шт.

*

@

ELECTRIC SUB ASSY

NOT

1шт.

23

71S4-10830

RIVET-SCREW

CANOPY

26шт.

24

71S4-10790

ACRYL-SIDE

CANOPY

2шт.

Выбрано товаров: 25