Запчасти Hyundai HSL800-7 PAGE 9180 FORK LEVER(GOVERNOR) ДВИГАТЕЛЬ БАЗА

Схема запчастей Hyundai HSL800-7 - PAGE 9180 FORK LEVER(GOVERNOR) ДВИГАТЕЛЬ БАЗА
FIT
1:1
100%

Артикул

Название

Примечание

Количество

*

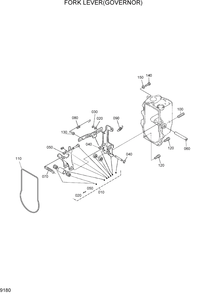
ENS7-00180

FORK LEVER-GOVERNOR

1шт.

10

1E134-56030

LEVER ASSY-FORK

1шт.

20

4013-6005

WASHER-PLAIN

1шт.

30

4613-5004

CIRCLIP-EXTERNAL

1шт.

40

4613-5005

CIRCLIP-EXTERNAL

2шт.

50

4613-5003

CIRCLIP-EXTERNAL

1шт.

60

1G517-56150

SHAFT-FORK LEVER

1шт.

70

1G514-56410

SPRING-GOVERNOR

1шт.

80

1G514-56480

SPRING-START

1шт.

90

1C010-57920

SPRING-STOP LEVER

1шт.

100

1518-5082

STUD

2шт.

110

1C010-55770

GASKET-GOV HOUSING

1шт.

120

1754-50618

BOLT-FLANGE

7шт.

130

1C010-92020

NUT-LOCK

1шт.

140

15108-5728

STOPPER

1шт.

150

2056-5006

NUT

1шт.

Выбрано товаров: 16