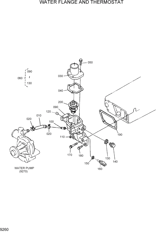
Запчасти Hyundai HSL800-7 PAGE 9260 WATER FLANGE AND THERMOSTAT ДВИГАТЕЛЬ БАЗА

Схема запчастей Hyundai HSL800-7 - PAGE 9260 WATER FLANGE AND THERMOSTAT ДВИГАТЕЛЬ БАЗА
FIT
1:1
100%

Артикул

Название

Примечание

Количество

*

ENS7-00270

W/FLANGE,THERMOSTAT

1шт.

10

1C010-73352

PIPE-WATER RETURN

1шт.

20

9318-882

CLAMP-HOSE

2шт.

30

1C020-73260

COVER-THERMOSTAT

1шт.

40

1C020-73272

GASKET

1шт.

50

1754-50825

BOLT-FLANGE

3шт.

60

1G564-72702

WATER FLANGE ASSY

1шт.

90

@

BODY

NOT

1шт.

10

1C010-37114

JOINT-WATER PIPE

1шт.

110

16241-9602

PLUG

1шт.

120

16241-9602

PLUG

1шт.

130

4717-016

WASHER-WITH RUBBER

1шт.

140

15000-3608

PLUG-CYLINDER HEAD

1шт.

150

4717-012

WASHER-WITH RUBBER

1шт.

160

15668-8304

SENSOR-WATER TEMP

1шт.

170

1754-5085

BOLT-FLANGE

1шт.

180

1754-50825

BOLT-FLANGE

3шт.

190

1C010-72820

GASKET-FLANGE

1шт.

200

1C011-73010

THERMOSTAT ASSY

1шт.

Выбрано товаров: 0