Запчасти Hyundai HSL800-7 PAGE 7030 BUCKET РАБОЧЕЕ ОБОРУДОВАНИЕ

Схема запчастей Hyundai HSL800-7 - PAGE 7030 BUCKET РАБОЧЕЕ ОБОРУДОВАНИЕ
FIT
1:1
100%

Артикул

Название

Примечание

Количество

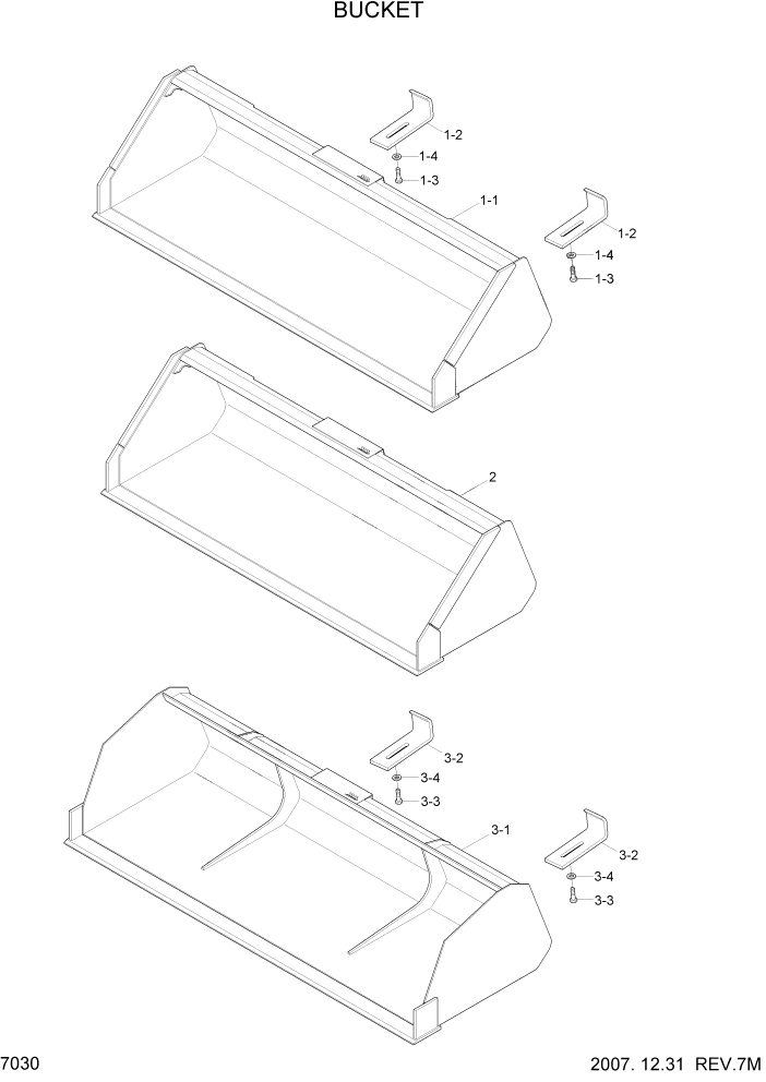
1

61S7-30010

BUCKET ASSY(0.37?)

STD #0023

1шт.

1

61S7-30080

BUCKET ASSY(0.37?)

STD #0024 - #0493

1шт.

1

61S7-30081

BUCKET ASSY(0.37?)

STD #0494

1шт.

1-1

61S7-30011

BUCKET WA(0.37?)

#0024 - #0493

1шт.

1-1

61S7-30012

BUCKET WA(0.37?)

#0494

1шт.

1-2

61S7-30070

PLATE-LOCK

#0024

2шт.

1-3

S017-100302

BOLT-HEX

#0024

2шт.

1-4

S401-102002

WASHER-PLAIN

#0024

2шт.

2

61S4-30011

BUCKET ASSY(0.31?,63")

OPT #0493

1шт.

2

61S4-30012

BUCKET ASSY(0.31?,63")

OPT #0494

1шт.

3

62S5-30020

BUCKET ASSY(0.57?)

OPT #0023

1шт.

3

61S7-30090

BUCKET ASSY(0.57?)

OPT #0024 - #0493

1шт.

3

61S7-30091

BUCKET ASSY(0.57?)

OPT #0494

1шт.

3-1

62S5-30021

BUCKET WA(0.57?)

#0024 - #0493

1шт.

3-1

62S5-30022

BUCKET WA(0.57?)

#0494

1шт.

3-2

61S7-30070

PLATE-LOCK

#0024

2шт.

3-3

S017-100302

BOLT-HEX

#0024

2шт.

3-4

S401-102002

WASHER-PLAIN

#0024

2шт.

Выбрано товаров: 18