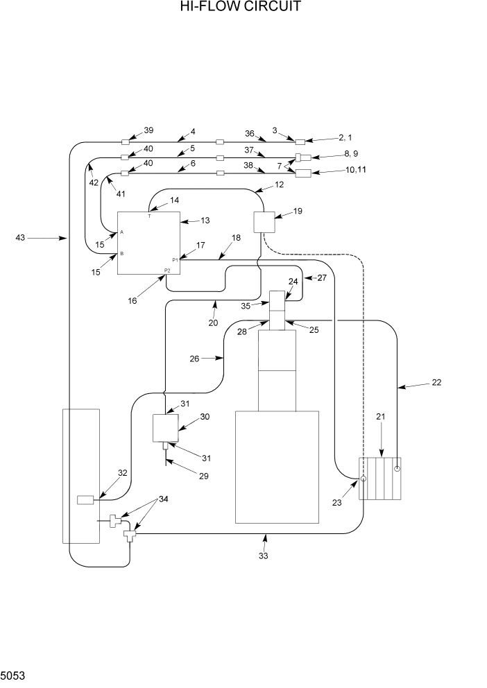
Запчасти Hyundai HSL960T PAGE 5053 HI-FLOW CIRCUIT ГИДРОСТАТИЧЕСКАЯ СИСТЕМА ПРИВОДОВ

Схема запчастей Hyundai HSL960T - PAGE 5053 HI-FLOW CIRCUIT ГИДРОСТАТИЧЕСКАЯ СИСТЕМА ПРИВОДОВ
FIT
1:1
100%

Артикул

Название

Примечание

Количество

1

YCAC-01766

DUST CAP-FEMALE

1шт.

2

YCAC-01764

COUPLING-FEMALE

1шт.

3

YCAC-01801

CONNECTOR-BULKHEAD

1шт.

4

YCAC-02582

HOSE-HYDRAULIC

1шт.

5

YCAC-02581

HOSE-HYDRAULIC

1шт.

6

YCAC-02580

HOSE-HYDRAULIC

1шт.

7

YCAC-01779

CONNECTOR

2шт.

8

YCAC-01304

COUPLING-MALE

1шт.

9

YCAC-01306

DUST CAP-MALE

1шт.

10

YCAC-01303

COUPLING-FEMALE

1шт.

11

YCAC-01305

DUST CAP-FEMALE

1шт.

12

YCAC-02578

HOSE-HYDEAULIC

1шт.

13

YCAC-01768

VALVE-HYD MANIFOLD

1шт.

14

YCAC-00308

ELBOW-90

1шт.

15

YCAC-00309

CONNECTOR

2шт.

16

YCAC-00308

ELBOW-90

1шт.

17

YCAC-00308

ELBOW-90

1шт.

18

YCAC-02577

HOSE-HYDRAULIC

1шт.

19

YCAC-01868

RAD/COOLER ASSY

1шт.

20

YCAC-02573

HOSE-HYDRAULIC

1шт.

21

@

CONTROL VALVE

NOT

1шт.

22

YCAC-02402

HOSE-HYDRAULIC

1шт.

23

YCAC-01364

PLUG-POWER BEYOND

1шт.

24

YCAC-00580

ELBOW-90

1шт.

25

YCAC-00405

ELBOW-90

1шт.

26

YCAC-02560

HOSE-HYDRAULIC

1шт.

27

YCAC-02572

HOSE-HYDRAULIC

1шт.

28

YCAC-00820

ELBOW

1шт.

29

YCAC-02403

HOSE-HYDRAULIC

1шт.

30

YCAC-01239

HYD FILTER ASSY

1шт.

31

YCAC-00773

ELBOW-90

1шт.

32

YCAC-00699

CONNECTOR

1шт.

33

YCAC-02464

HOSE-HYDRAULIC

1шт.

34

YCAC-00572

TEE-RUN

1шт.

35

YCAC-01769

PUMP-GEAR

1шт.

36

YCAC-01811

TUBE-HYDRAULIC

1шт.

37

YCAC-01809

TUBE-HYDRAULIC

1шт.

38

YCAC-01810

TUBE-HYDRAULIC

1шт.

39

YCAC-00845

CONNECTOR

1шт.

40

YCAC-01782

CONNECTOR

2шт.

41

YCAC-01836

TUBE-HYDRAULIC

1шт.

42

YCAC-01837

TUBE-HYDRAULIC

1шт.

43

YCAC-02579

HOSE-HYDRAULIC

1шт.

Выбрано товаров: 43