Запчасти Hyundai HSL1200T PAGE 9005 HEAD COVER ДВИГАТЕЛЬ БАЗА

Схема запчастей Hyundai HSL1200T - PAGE 9005 HEAD COVER ДВИГАТЕЛЬ БАЗА
FIT
1:1
100%

Артикул

Название

Примечание

Количество

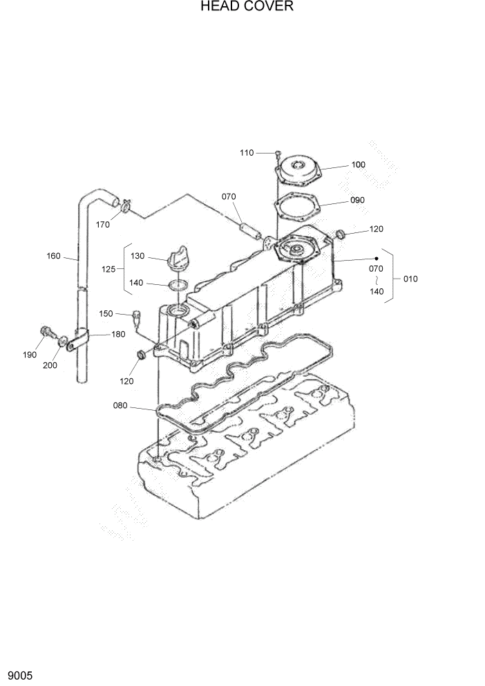
10

XJBT-02032

CYL HEAD COVER ASSY

1шт.

70

XJBT-01325

JOINT-BREATHER PIPE

1шт.

80

XJBT-01857

GASKET-HEAD COVER

1шт.

90

XJBT-02027

GASKET-GREATHER COV

1шт.

100

XJBT-02026

COVER-BREATHER

1шт.

110

XJBT-00693

SCREW,PAN-HEAD

6шт.

120

XJBT-00694

CAP-SEALING

2шт.

125

XJBT-01885

PLUG ASSY-O/FILLER

1шт.

130

XJBT-02220

PLUG-OIL FILTER

1шт.

140

XJBT-00632

O-RING

1шт.

150

XJBT-01979

BOLT

10шт.

160

XJBT-02028

PIPE-BREATHER

1шт.

170

XJBT-01367

BAND-PIPE

1шт.

180

XJBT-02214

CLAMP-CORD

1шт.

190

XJBT-00810

BOLT-FLANGE

1шт.

200

XJBT-00818

WASHER-PLAIN

1шт.

Выбрано товаров: 16