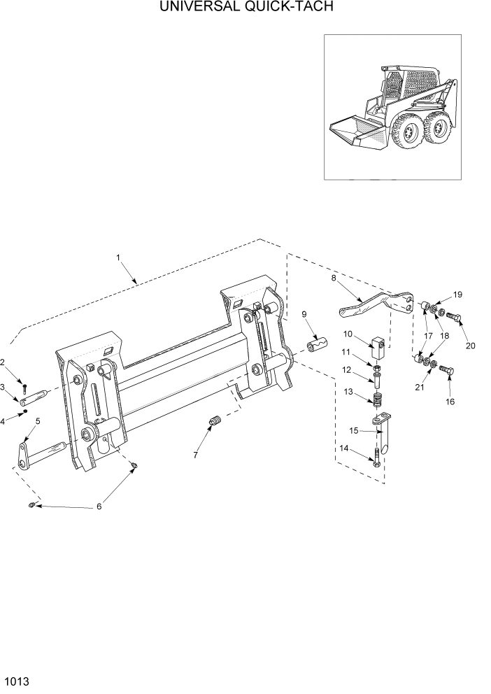
Запчасти Hyundai HSL1500T PAGE 1013 UNIVERSAL QUICK-TACH ГЛАВНАЯ РАМА

Схема запчастей Hyundai HSL1500T - PAGE 1013 UNIVERSAL QUICK-TACH ГЛАВНАЯ РАМА
FIT
1:1
100%

Артикул

Название

Примечание

Количество

1

YCAC-02181

QUICK-TACH ASSY

1шт.

2

YCAC-02039

BOLT-HEX

2шт.

3

YCAC-01259

PIVOT PIN-HARDENED

2шт.

4

YCAC-00359

NUT-LOCK 5/16"

2шт.

5

YCAC-01257

PIVOT PIN-HARDENED

2шт.

YCAC-02054

NUT-LOCK

2шт.

6

YCAC-00426

GREASE FITTING-STRAIGHT

4шт.

7

YCAC-00303

PLUG

2шт.

8

YCAC-01012

HANDLE-RH

1шт.

YCAC-01013

HANDLE-LH

1шт.

9

YCAC-01015

BUSHING-HARDENED

2шт.

10

YCAC-00978

LINKAGE BLOCK BAR

2шт.

11

YCAC-00435

NUT-HEX

2шт.

12

YCAC-01064

BUSHING

2шт.

13

YCAC-01866

SPRING

2шт.

14

YCAC-00427

BOLT-HEX

2шт.

15

YCAC-02192

PIN-LOCK ASSY.RH

1шт.

YCAC-02191

PIN-LOCK ASSY.LH

1шт.

16

YCAC-00656

BOLT-HEX

2шт.

17

YCAC-00472

BUSHING-STABILIZER BAR

4шт.

18

YCAC-00493

WASHER-FLAT 1/2

4шт.

19

YCAC-01017

WASHER

2шт.

20

YCAC-00361

BOLT-HEX

2шт.

21

YCAC-00436

WASHER-LOCK 1/2

2шт.

Выбрано товаров: 0